Десульфатация автомобильных аккумуляторов

Десульфатация аккумулятора своими руками

Десульфатация автомобильных аккумуляторов

Автопром не стоит на месте, и сегодня автомобиль требует минимального технического обслуживания.

Если раньше за работой автоаккумулятора приходилось пристально следить, то сейчас многие автовладельцы вспоминают о нем только в случае каких-либо неполадок или во время планового прохождения техосмотра.

Однако такие приемы, как, например, десульфатация аккумулятора своими руками, могут существенно продлить срок его службы. При должном уходе он прослужит значительно дольше, а значит, ваше авто вас не подведет.

Почему происходит сульфатация аккумулятора?

Если аккумуляторная батарея часто используется во время неполной зарядки, то постепенно она теряет емкость из-за такого явления, как сульфатация пластин, но что это такое и что значит для аккумулятора, знают не все. Рассмотрим химические реакции, протекающие в процессе сульфатации.

При эксплуатации на пластины аккумуляторов оседает сульфат свинца. Постепенная потеря заряда характеризуется такой химической реакцией: Pb + 2H2SO4 + PbO2 -> 2PbSO4 + 2H2O. Это означает, что свинцовые пластины с оксидом свинца на поверхности вступают в контакт друг с другом, и в этой реакции участвует также серная кислота. В итоге образуется сульфат свинца, а также вода.

Во время подключения к «Вымпел 55» или другому зарядному устройству батареи реакция происходит с точностью до наоборот, и сульфат свинца исчезает, а плотность электролита повышается.

Обратите внимание

Но не всегда до конца, он может так и остаться на пластинах, особенно если аккумулятор далеко не новый. Таким образом, полезная поверхность аккумулятора загрязняется и уменьшается.

Сульфат свинца имеет плохую электропроводимость, и емкость сульфатированной АКБ уменьшается.

Из-за чего сульфатация может происходить быстрее и чаще:

  • автомобиль долго простаивает без использования;
  • аккумулятор редко заряжают от сети, таким образом уменьшая количество обратных реакций;
  • АКБ долго хранится в состоянии полной разрядки;
  • разрядка «в ноль» — современные кальциевые аккумуляторы таковы, что их электроды в этом случае покрываются сульфатом кальция и перестают заряжаться до конца;
  • наоборот, перезаряд аккумулятора — длительное поддержание аккумулятора подключенным к сети;
  • работа в «городском режиме» — частые запуски и короткие периоды в движении;
  • работа в «экстремальных» условиях — слишком низкой или слишком высокой (от +40оС) температуре воздуха.

Как определить, что пластины сульфатированы? В первую очередь это замечают, когда аккумулятор начинает терять емкость.

Начав исследовать причины этого, можно обнаружить на пластинах АКБ специфический белый налет, по виду напоминающий снег. Другие признаки — нагрев пластин, кипение аккумулятора при зарядке раньше времени, слишком высокий потенциал на электродах.

Все это означает, что наступило время для десульфатации — если, конечно, вы хотите избежать полной замены аккумулятора авто.

Производим десульфатацию без автосервиса

Человеку, плохо знакомому с химией, может прийти в голову идея долить серной кислоты в надежде «оживить» батарею. Но такие вещи нельзя делать ни в коем случае, так как при этом станет только хуже — потерявшие активность сульфатированные пластины уже не сработают так, как раньше, и в результате АКБ придется выбрасывать — на этот раз без возможности ее оживить.

Правильно и быстро произвести десульфатацию поможет аммиачный раствор Трилона Б. Другое его название — этилендиаминтетрауксуснокислый натрий. Как правило, Трилона Б содержится в этой смеси 2%, аммиака — 5%.

Использование этого реактива идеально для правильного устранения сульфата свинца, но есть проблема — раздобыть раствор очень сложно, разве только обратившись в лабораторию. Тем не менее, опишем здесь этот способ.

Для начала нужно полностью зарядить аккумулятор и убрать (слить) из него электролит. После этого пару-тройку раз промойте АКБ дистиллированной водой. Затем залейте ее упомянутым аммиачным раствором и оставьте все в таком состоянии на час.

Будьте готовы к тому, что начнут выделяться газы и брызги. Вы увидите, когда реакция с газовыделением прекратится, и тогда можно будет сливать раствор.

Перед заливкой электролита обратно еще два раза произведите промывку устройства дистиллированной водой.

Десульфатация автомобильного аккумулятора электрическим током

Устранить сульфат свинца можно также при помощи электричества. Народные умельцы-автолюбители собирают собственные устройства для таких целей. В интернете легко находится схема и видео, как сделать их из ЗУ, используя трансформатор и выпрямитель.

Основой является импульсный ток, который приводит в действие электроны, удаляющие с поверхности пластин все «ненужное». Но для правильной сборки таких инструментов нужно быть хоть чуть-чуть электриком и разбираться в этой сфере.

Важно

В противном случае, не зная всех тонкостей, можно даже случайно уменьшить емкость АКБ. Поэтому данные способы мы здесь описывать не будем.

Использовать электроток для избавления аккумуляторов от сульфата свинца можно и без собирания сложных устройств. Не нужно особых навыков — только время, работающую домашнюю розетку и ареометр, чтобы он снимал показания плотности.

Извлеките аккумулятор из авто и измерьте плотность электролита в каждой из банок. Подключите провода от зарядного устройства (например, «Вымпел 55») к соответствующим полюсам аккумуляторной батареи.

Ток необходимо поставить 0,04 от емкости АКБ. Обычно это будет 2,4 А. Напряжение ставьте 14 В.

8 часов заряжайте ваш аккумулятор, затем отключите его на 12-14 часов, чтобы концентрация электролита стала равномерной.

Повторите операцию от трех до пяти раз, в зависимости от наличия времени и степени сульфатации. Затем осмотрите пластины и измерьте плотность электролита. Белый налет должен уменьшиться, а плотность — увеличиться.

Если у вас есть возможность оставить авто без аккумулятора на длительное время, можно использовать еще один способ борьбы с сульфатом свинца, для которого потребуется «Вымпел 55» или другой зарядник.

Сначала просто зарядите аккумулятор полностью, как вы обычно это делаете. Затем слейте электролит и залейте дистиллированную воду. В таком виде подключите его к «Вымпел 55» на напряжении 14 В. Должно быть выделение газов, но слабое. Если же оно сильное, то надо понемногу снижать напряжение до достижения нужного эффекта.

Придется оставить его так на 10-14 дней. После этого возьмите ареометр и измерьте плотность воды. За это время она должна стать электролитом слабой концентрации.

Снова замените его дистиллированной водой и повторите длительный процесс зарядки.

Совет

После второго раза, если плотность воды мало изменилась, можно считать снятие сульфата свинца законченным, сливать воду, заливать электролит и заряжать до рабочего состояния.

После того, как вы с помощью вышеописанных способов уберете сульфат свинца с АКБ, то есть будет произведена десульфатация, то наверняка задумаетесь, что проще было бы свести к минимуму сульфатацию в будущем.

Как ее предотвратить:

  • регулярно проверяйте плотность электролита ареометром, а также его количество в банках;
  • не оставляйте автомобиль в мороз на улице или неотапливаемой парковке;
  • ток при зарядке должен быть не выше 1/10 от емкости аккумулятора, этот параметр легко выставить на ЗУ «Вымпел 55», как и на любом другом.

Соблюдая правила эксплуатации, вовремя занимаясь обслуживанием аккумулятора можно существенно продлить его срок службы.

Что такое десульфатация аккумулятора и как произвести её в домашних условиях

Десульфатация автомобильных аккумуляторов

Полностью заряженная батарея автомобиля отказалась заводить мотор? Для большинства автомобилистов это может стать причиной для приобретения нового аккумулятора. Однако проблема может скрываться не в серьезной поломке, а в сульфатации.

Покрытие пластин налетом солей свинца и снижение, таким образом его емкости, не дает возможности извлечь достаточный для зажигания ток. «Лечение» агрегата производится с помощью десульфатации – разрыхления налета на решетках и возвращения атомов свинца на пластины. Этот процесс может производиться с помощью нескольких методик: химической, механической, электрохимической.

Сульфатация — что это такое?

Принцип работы АКБ основывается на энергии химического взаимодействия свинца и кислоты. Свинцовая решетка выступает в качестве электродов. В качестве электролита заливается концентрированная серная кислота, которая в первый же момент образовывает соли с кальцием или свинцом и обволакивает тонкой пленкой этого вещества рабочую поверхность решетки.

По сути — сульфатация пластин аккумулятора — это процесс отложения солей сульфата свинца на пластинах электродов

При нормальной работе батареи это естественный процесс, когда электролит переносит заряд на пластину в результате химической реакции образования солей металла. На одном из электродов образовываются небольшие повреждения на месте «вырванных» из поверхности атомов, а на другом – скапливаются соли элемента.

Процесс десульфатации позволяет разбить соляные соединения и вернуть к первоначальному виду состав электролита, а потерянные атомы металла – обратно на электрод.

Следует понимать, что полностью вернуть все образовавшиеся соединения до первоначального вида не получится. При надлежащем уходе и своевременной зарядке такие АКБ прослужат ещё несколько лет, но при этом электроды становятся рыхлыми и усеянными кристаллами солей, которые уже не разбиваются при десульфатации.

Краткое видеоописание процесса сульфатации:

Снижение заряда происходит вследствие большого скопления кристаллизованных солей кальция или свинца на электродах, что мешает проникновению к поверхности пластины электролита. Меньшая концентрация в электролите заряженных ионов приводит к снижению емкости батареи до критического уровня, что не позволяет автомобилю получать требуемый для зажигания заряд.

Бороться с таким состоянием АКБ следует несколькими способами: химическим, механическим, электрохимическим. Все они обладают разной степенью эффективности, выбираются в зависимости от типа батареи, состояния износа, иных параметров.

Основные признаки

Самым явным признаком того, что батарея не выдает нужный ток из-за сульфатации, является образование на пластинах серого сплошного налета. Рассмотреть его не всегда возможно из-за особенностей АКБ. Для обслуживаемых батарей, которые оснащены съемной крышкой, есть возможность открыть прибор и заглянуть в него.

В ином выполнении аккумулятора, если он полностью запаян, такая операция требует распила батареи, что небезопасно для человека.

Признаки сульфатации аккумулятора:

  • Полностью заряженная батарея не способна запустить мотор транспортного средства
  • Емкость батареи снизилась
  • Показатели плотности электролита свидетельствуют о снижении номинального значения
  • Быстро закипают банки прибора в процессе зарядки
  • Аккумулятор неестественно быстро заряжается или разряжается

Для увеличения срока службы АКБ и возврата рабочего состояния необходимо правильно производить десульфатацию прибора.

Как устранить сульфатацию пластин

Под десульфатацией понимают воздействие на электроды и пластины различными способами, которые способствуют устранению образовавшегося налета солей кальция или свинца. Различаются такие виды очистки: механическую, химическую или с использованием неорганических присадок, электрохимическую с применением зарядного устройства.

Самым простым и быстрым способом десульфатации считается механическая очистка пластин от образовавшихся кристаллов соли. Батареи старого образца или обслуживаемые позволяют снимать крышку и получать доступ к пластинам и электродам.

Эти комплектующие извлекаются с батареи вручную и таким же образом очищаются – налет просто соскабливается с поверхности и щелей до полного устранения по мере возможности. Современные агрегаты чаще выпускаются необслуживаемого образца. Это не дает возможности попасть к банкам с электродами, чтобы их достать и почистить.

Для проведения очистки пластин севшей АКБ этим методом необходимо выполнить ряд операций:

  • Снять или срезать у обслуживаемых аккумуляторов верхнюю часть корпуса
  • Каждую из пластин зачистить вручную, осторожно, чтобы не повредить структуру электродов;
  • Установить очищенные пластины на их место в емкостях с соблюдением нужного зазора между каждой;
  • Сделать герметичным корпус, запаять снятую крышку;
  • Заполнить банки электролитом нужной плотности;
  • Провести проверку работоспособности АКБ, «подогнать» плотность жидкости к одному уровню во всех банках, не допуская разнос более, чем 0,01 кг/куб. см и концентрацию электролита не ниже 1,25, но не выше 1,31 кг/куб. см.
  • Для EFB батарей этот способ не применим, поскольку каждая группа электродов отдельно запаяна в сепаратор, предназначенный для предотвращения осыпания пластин.

    В этой конструкции различается плотность электролита в банке и самом пакете (сепараторе), что испортит устройство после нарушения целостности. Этот фактор не дает провести механическую десульфатацию.

    Химические присадки

    Суть процесса заключается во введении в полость банок с электролитом специальных присадок с химическим составом, воздействующим на сульфаты кальция или свинца. В ходе зарядки растворы с присадками замедляют образование на электродах солевого налета, что возвращает до практически номинального заряда АКБ.

    Чаще всего выбирают «Трилон-Б», однако не на всех батареях этот раствор одинаково эффективно срабатывает. Зависит реакция от особенностей конструкции аккумулятора, модели и технических параметров. Вероятность того, что химический способ десульфатации сработает — 50 на 50.

    Состав «Трилона-Б» включает 5% аммиака, 2% кислоты органической производной от соли натрия, дистиллят. Эти компоненты к свинцу инертны, зато хорошо реагируют с налетом на электродах. В промышленности такой раствор применяется для превращения нерастворимых солей в растворимые.

    Порядок проведения химической десульфатации:

    • В соответствии с приведенными выше пропорциями готовится раствор «Трилон-Б»
    • Аккумулятор заряжается полностью
    • 2-3 раза производится промывка дистиллятом банок АКБ
    • Не менее часа раствор должен провести в полости банок, чтобы закончились химические реакции и прекратились выделяться газы
    • Неактивный раствор по завершению реакций сливается (откачивается без переворачивания устройства)
    • 1-2 раза промывают с помощью дистиллированной воды внутреннюю часть банок
    • Новый электролит, плотностью 1,25-1,27 кг/куб. см, заливается в каждую банку, проверяется его плотность и подгоняется к одному значению с разносом не более 0,01 кг/куб. см для каждой емкости
    • АКБ заряжается полностью, корректируется концентрация жидкости

    Электрохимический способ

    Наиболее продуктивным способом десульфатации считается электрохимический, который осуществляется специальным зарядным устройством.

    Суть электрической десульфатации заключается в пропускании через электролит тока с более высокими показателями, чем номинальные значения АКБ. Это приводит к естественному растворению в окружающей пластины жидкости скоплений свинцовых или кальциевых солей и растворение в ней, повышая плотность электролита. Это приводит показатели аккумулятора в норму.

    Восстановление простым зарядником, своими руками

    Производить десульфатацию АКБ можно самостоятельно с использованием специального или стандартного зарядного устройства.

    Обычное зарядное устройство бывает автоматическим с возможностью регулирования подаваемых на клеммы токов и напряжения и режимом «Десульфатация» или упрощенным с необходимостью контроля процесса. Самый удобный вариант — это автоматическое импульсное зарядное устройство с режимом десульфатации.

    Этапы зарядки автоматическим зарядным устройством с режимом десульфатации включает следующие этапы:

    • К соответствующим полюсам АКБ подключаются отрицательная и положительная клеммы автоматического устройства;
    • Настраивается нужное напряжение и сила подаваемого тока, включается режим «Десульфатация»;
    • К сети подсоединяется оборудование;
    • Батарея начинает заряжаться, на отрицательной клемме происходит процесс возобновления пластин;
    • По окончании процесса зарядки до полного восстановления ее емкости и плотности электролита производится отключение от питания, снимаются клеммы батареи автоматического устройства.

    Время процесса зависит от многих факторов:

    • Степени разряженности АКБ;
    • Емкости оборудования;
    • Уровня сульфатации электродов.

    Для расчета среднего времени зарядки делят емкость АКБ на средний показатель тока зарядки. Чаще всего требуется от 15 часов до 3 суток для полного восстановления оборудования.

    Инструкция зарядки АКБ обычным зарядным устройством

    Для этого типа зарядки аккумуляторной батареи электрохимическим способом необходимо осуществлять регулярный контроль процесса и постоянно в него вмешиваться.

    Для достоверности и точности зарядки инструкция разработана для батареи с плотностью электролита 1,07 г/куб. см и напряжением 8 В на клеммах оборудования.

    Без получения напряжения у данного прибора начинается спустя 15 минут кипение при типичной зарядке.

    Для десульфатации необходимо сделать следующее:

    • Обеспечить для зарядки устройства помещение с хорошей циркуляцией воздуха;
    • Проверить уровень в банках АКБ электролита и восполнить его при необходимости дистиллированной водой;
    • Подключить батарею к зарядному прибору;
    • Выставить ток с силой 0,8-1 А и напряжением 13,9-14,3 В примерно на 8-9 часов. Эти манипуляции позволят поднять напряжение на клеммах АКБ до отметки 10 В, оставив уровень плотности электролита без изменений;
    • Отключить аккумулятор от зарядного устройства и продержать в таком состоянии примерно сутки;
    • Повторное подключение батареи к заряднику производится с новыми параметрами тока: силой 2-2,5 А и напряжением 13,9-14,3 В на 8-9 часов;
    • После повторной зарядки параметры аккумулятора изменятся: плотность электролита возрастет до отметки 1,12 г/куб. см, а напряжение на клеммах поднимется до 12,8 В;
    • Это свидетельствует о начале десульфатации. Для следующего шага необходимо разрядить батарею до отметки 9 В с помощью подключения к клеммам активного сопротивления – лампы или фары. Среднее время для разряда – 8-9 часов. Плотность электролитической жидкости будет держаться на уровне 1,12 г/куб. см;

    Необходимо контролировать процесс разрядки АКБ, поскольку конечное напряжение должно остаться не ниже 9 В.

    Последующая пара зарядки и разрядки батареи по вышеуказанному сценарию позволит повысить уровень электролита до показателя 1,16 г/куб. см. Необходимо повторять цикл до тех пор, пока плотности не достигнет значения 1,26 г/куб. см или не приблизится к номинальному 1,27 г/куб. см.

    Как показывает практика, подобные манипуляции обновляют аккумулятор на 80-90%.

    Десульфатация аккумулятора своими руками

    Десульфатация автомобильных аккумуляторов

    16.05.2018

    Аккумулятор — это химический источник электрического тока. В любом аккумуляторе происходит электрохимическая реакция, в результате которой химическая энергия превращается в электрическую.

    Реакция эта обратимая, поэтому все аккумуляторы можно заряжать и разряжать. Количество циклов разрядки-зарядки у разных видов накопителей различно, но все они предназначены для многократного использования.

    Свинцово-кислотные аккумуляторы состоят из пластин, погружённых в электролит — серную кислоту. Пластины изготовлены из чистого свинца. Именно эти аккумуляторы получили наибольшее распространение в качестве источника стартерного тока для современных автомобилей.

    Особенности химических процессов

    Разрядно-зарядный цикл свинцово-кислотного аккумулятора включает два противоположных электрохимических процесса:

    Во время разряда происходит реакция сульфатации:

    Pb + 2H2SO4 + PbO2 = 2PbSO4 + 2H2O

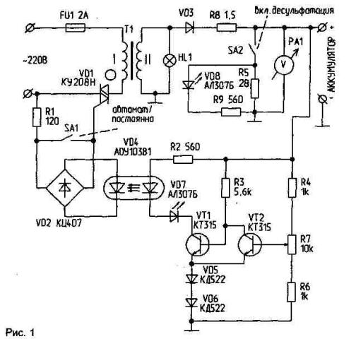
    Прибор для десульфатации аккумулятора своими руками: схемаСуть процесса состоит в том, что чистый свинец пластины вступает в химическую реакцию с серной кислотой, находящейся в составе электролита, и превращается в результате этой реакции в четырёхвалентный диоксид.

    Диоксид свинца является очень прочным химическим соединением. Он покрывает защитной плёнкой свинцовую пластину и вступает в реакцию с серной кислотой электролита. В результате образуется сульфат свинца. Этот сульфат имеет вид белого налёта на свинцовых пластинах батареи.

    Обратите внимание

    Во время заряда батареи происходит прямо противоположный процесс десульфатации, в результате которого сульфат свинца снова превращается в диоксид и серную кислоту.

    Но вся тонкость этого процесса состоит в том, что реакция десульфатации, происходящая в процессе зарядки аккумулятора, никогда не протекает до конца.

    Небольшая часть сульфата свинца сохраняется в неизменном виде и постепенно оседает на пластинах аккумулятора в виде белого налёта. Снятие сульфата с электрода происходит не полностью.

    Причины старения аккумулятора

    По сути, сульфатацию можно назвать процессом старения аккумуляторной батареи. Она является естественной, и полностью её устранить невозможно. Постепенно белые отложения сульфата свинца полностью перекрывают доступ электролита к свинцовым пластинам. Ёмкость очень сильно снижается.

    Пусковой ток полностью исчезает. Прибор перестаёт работать. Зарядить его становится невозможным. Процесс старения аккумулятора может быть значительно растянут по времени и полная сульфатация может произойти через 5-7 лет использования устройства.

    Но иногда в результате неправильной эксплуатации сульфатация наступает очень быстро.

    Причиной преждевременного старения аккумуляторной батареи может быть:

    • Длительный период простаивания автомобиля без эксплуатации.
    • Редкие зарядки аккумулятора от сети. В результате резко снижается процесс естественной десульфатации.
    • Долгое хранение батареи в состоянии полного разряжения.
    • Частые «переедания электричества». Когда аккумулятор находится включенным в сеть в течение очень длительного времени.
    • В результате так называемого «городского стиля» езды. Когда в результате стояния в пробках приходиться постоянно останавливаться, глушить мотор и затем снова его запускать.
    • Жёсткие условия эксплуатации. Температура окружающего воздуха чрезмерно высокая, выше плюс сорока градусов. Или, наоборот, слишком низкая, ниже минус сорока.

    Десульфатация своими руками

    Естественный процесс десульфатации запустить невозможно. Из этого тупика существует два выхода:

    • Не мучиться, выкинуть вышедшую из строя батарею и купить новую.
    • Попытаться провести искусственную десульфатацию — для этого можно сделать десульфатор своими руками.

    Различают два вида десульфатации:

    • Электрическая. Десульфатация аккумулятора зарядным устройством. Посредством специальных электроприборов, которые подают на аккумуляторную батарею токи разной величины и в разных режимах.
    • Химическая. В основе этого метода лежит способность сульфата свинца вступать в химическую реакцию со щелочными растворами.

    Как сделать мультизарядку

    Осуществляется мультизарядка с помощью автомобильного зарядного устройства или специальной приставки. Перед началом в батарею заливается новый электролит. Это позволит чуть оживить мёртвую батарею.

    Суть метода состоит в многократной подаче на контакты аккумулятора тока малой величины с кратковременными промежутками. Величина тока составляет приблизительно одну десятую долю от ёмкости батареи.

    Снять показание тока можно с помощью зарядного устройства «Вымпел 55».

    Весь цикл последовательно разбивается на шесть-девять серий зарядов. После каждой такой зарядки напряжения на клемах увеличивается и аккумулятор перестаёт заряжаться. Во время паузы электрический потенциал выравнивается, что приводит к уменьшению напряжения батареи. К концу цикла электролит начинает приобретать необходимую плотность. Батарея начинает, хоть как-то заряжаться.

    Обратная зарядка

    Для работы необходим ток силой 60-100А и напряжением около 20-30 В. Для этого понадобится мощный источник тока, например, сварочный трансформатор.

    Прибор отсоединяется от автомобильной сети и вынимается из машины. Ставиться на ровную поверхность и у него выкручиваются пробки. Источник тока присоединяется по обратной схеме.

    То есть, плюс присоединяется к минусу и наоборот минус к плюсу. Ток подаётся в течение 30-40 минут.

    Во время подачи тока произойдёт закипание электролита, что является необходимым условием для очистки пластин от сульфата свинца. Как следствие произойдёт не только очистка пластин, но и смена полярности самого аккумулятора. Отныне и до конца своих дней у аккумуляторной батареи плюс будет минусом, а минус станет плюсом.

    Через 40 минут такого радикального воздействия остатки не выкипевшего электролита нужно убрать, то есть слить.

    С помощью горячей воды осуществляют промывку внутреннего пространства аккумулятора, с целью удалить выделившийся в раствор, в виде осадка, сульфат свинца.

    Заливается новый электролит и аккумулятор ставится на штатную зарядку. Только теперь нужно обязательно соблюдать обратную полярность.

    Обработка пищевой содой

    Для работы необходима пачка пищевой соды, дистиллированная вода и зарядное устройство.

    Аккумуляторную батарею извлекают из машины, устанавливают на ровную поверхность и откручивают пробки. После чего выливают остатки старого электролита.

    Важно

    Сделать раствор для сульфитации. Раствор для десульфатации готовят исходя из следующего соотношения: 1 столовая ложка пищевой соды на 100 мл. дистиллированной воды. Раствор доводят до кипения и после этого заливают в аккумуляторную батарею приблизительно на час. После этого батарею промывают горячей водой. Лучше промыть несколько раз подряд.

    И каждый раз, перед началом зарядки проводят манипуляцию по обработке горячим раствором соды.

    Применение трилона-Б

    Десульфататор трилон-Б, или аммиачный раствор этилендиаминтетрауксуноксилого натрия — специальное средство для очистки аккумуляторных пластин от сульфата свинца.

    Свободно продаётся в специализированных автомагазинах. Для его применения аккумуляторную батарею необходимо сначала зарядить.

    Это автоматически исключает из обработки с помощью этого метода, те батареи, которые уже невозможно зарядить.

    После зарядки из батареи сливают электролит и вместо него заливают трилон-Б. Сигналом окончания обработки является прекращение обильного газовыделения и образования пузырьков в жидкости. В заключение батарею промывают несколько раз горячей дистиллированной водой и заполняют новым электролитом, а потом ставят на штатную зарядку.

    Возможные затруднения

    Необходимо понимать что десульфатация возможна далеко не во всех типах аккумуляторов:

    • Необслуживаемые аккумуляторы. К этому типу относятся, например, гелевые аккумуляторы. В таких аккумуляторах замена электролита технически невозможна. Необслуживаемый аккумулятор имеет неразборный корпус. Большое количество пластин, которые очень плотно упакованы в специальные ячейки. Кроме того, каждая электродная пластина заключена в специальный пластиковый сепаратор. Это приводит к тому, что в подобное устройство невозможно залить посторонние жидкости для очистки. Как и невозможно произвести промывание с целью смыть осадок сульфата из батареи.
    • Кальциевые аккумуляторы. Свинец отличаются повышенной мягкостью, что часто приводит к механическим повреждениям аккумуляторных пластин. В целях повышения прочности пластины могут легировать кальцием. Функция кальция: кроме прочности кальций положительно влияет на выкипание воды из электролита и саморазряд батареи, сводя эти неприятные явления к минимуму. Обратной стороной кальциевых аккумуляторов является то, что на пластинах в результате сульфатации осаждается более прочный и химически стойкий сульфат кальция. Это вещество практически не поддаётся процессу разложения на первоэлементы, кальций и серную кислоту, под воздействием щелочей или с помощью, воздействия электрического тока. В результате десульфатация кальциевых аккумуляторов технически невозможна.

    Профилактические меры

    Для того чтобы предотвратить возникновение такого неприятного явления, как ранняя сульфатация, необходимо придерживаться нескольких несложных правил эксплуатации автомобильного аккумулятора:

    • Контролировать уровень электролита в аккумуляторе, не допуская его чрезмерного испарения.
    • Как можно чаще проверять, с помощью ареометра, плотность электролита.
    • Не оставлять аккумулятор в неработающем автомобиле в течение длительного времени в случае крайне низкой температуры окружающего воздуха. Зимой, при температуре за бортом, минус сорок, аккумулятор на ночь лучше забирать домой. Если, конечно, машина не храниться в тёплом гараже.
    • При зарядке, максимальное значение тока не может превышать 1/10 ёмкости аккумулятора.

    Способы восстановления аккумуляторной батареи

    Десульфатация автомобильных аккумуляторов

    Автомобильный аккумулятор в среднем служит от трех до пяти лет, но свой ресурс он отрабатывает при условии бережной эксплуатации. Аккумуляторная батарея раньше времени выходит из строя при постоянных перегрузках, глубоких разрядах, неисправностях электрооборудования.

    От всех неблагоприятных факторов разрушаются пластины в банках АКБ, на них образуется белый налет. Во многих случаях батарею с разрушенными пластинами восстановить невозможно, но если она еще не сильно запущена, может помочь десульфатация аккумулятора.

    Восстанавливают АКБ различными способами, и некоторые из них реально помогают оживить «умершее» устройство.

    Способы десульфатации аккумуляторной батареи

    Последнее время необслуживаемые АКБ активно вытесняют обслуживаемые, они имеет ряд преимуществ:

    • нет необходимости доливать в банки дистиллированную воду;
    • при той же емкости батареи имеют более компактные размеры.

    Весь уход за необслуживаемыми аккумуляторами заключается в своевременной подзарядке и соблюдении правил эксплуатации.

    Но кроме преимуществ батарея необслуживаемого типа имеет и существенные недостатки:

    • за счет уменьшения размеров АКБ свинцовые пластины тоньше, и прочность их уменьшилась;
    • батареи быстрее выходят из строя при неисправном электрооборудовании автомобиля.

    Есть несколько вариантов восстановления аккумуляторов всех типов:

    • зарядка реверсивными токами
    • восстановление батареи путем замены разрушенных элементов;
    • десульфатация токами малых величин;
    • доливка в аккумулятор специальных жидкостей, которые разрушают сульфат;
    • восстановление работоспособности АКБ импульсными токами.

    Следует отметить, что не все эти способы можно легко применить для необслуживаемых аккумуляторов, полностью герметичную батарею непросто отремонтировать механическим путем, долить в нее присадки.

    Десульфатация аккумулятора промышленным зарядным устройством

    В результате сульфатации пластин падает емкость аккумуляторной батареи, и чем больше сульфата образовалось на пластинах, тем меньше силу тока может отдать АКБ при запуске двигателя.

    Допустим, аккумулятор рассчитан на 60 Ампер-часов, но в результате покрытия пластин белым налетом они не могут нормально взаимодействовать с электролитом, и емкость батареи падает до 20-30 А·ч.

    Разумеется, мощности батареи не хватает, и двигатель невозможно прокрутить для запуска.

    Цель десульфатации – очистить пластины от кристаллов сульфата, повысить емкость АКБ. Но прежде чем говорить о процессе очищения пластин от налета путем зарядки аккумулятора, следует отметить, что промышленностью производятся два типа зарядных устройств:

    • обычные «зарядники»;
    • автоматы (так называемые десульфаторы).

    Пользоваться десульфатором просто – устройство нужно подсоединить к аккумуляторным клеммам и включить его в сеть 220 Вольт. Восстановление с помощью промышленного устройства производится путем зарядки и затем последующей разрядки АКБ, выполняется так называемая тренировка.

    Сразу следует отметить, что тренировка батареи может быть в нескольких вариантах, но об этом мы поговорим чуть позже.Десульфатация аккумулятора зарядным устройством выполняется приблизительно так – сначала 10 минут идет зарядка током 2 А, затем минуту аккумулятор разряжается током 0,2 А.

    Токи и время заряда-разряда могут быть разными, здесь приведены ориентировочные значения. Устройство называется автоматом, потому что пользователь практически не принимает никакого участия в восстановлении АКБ – прибор работает в автоматическом режиме, причем, процесс заряда-разряда может длиться не одни сутки.

    Совет

    Когда батарея восстановится, устройство выдает соответствующую информацию на дисплее.

    Но многие автовладельцы стараются собрать устройство для десульфатации аккумуляторной батареи своими руками – промышленный прибор стоит недешево, его цена находится в пределах 5-10 тысяч рублей.

    Если сам аккумулятор недорогой, нет смысла тратить такие деньги ради того, чтобы «оживить» дешевую АКБ дорогим прибором.

    Арифметика здесь простая – на 10000 рублей можно купить как минимум две недорогих батареи и на несколько лет забыть о проблемах с запуском двигателя.

    Десульфатация аккумулятора своими руками

    Попробовать восстановить АКБ можно обычным «зарядником», который должен быть у каждого уважающего себя автовладельца. Перед началом восстановления необходимо проверить уровень электролита в банках (на обслуживаемом аккумуляторе) и при необходимости добавить дистиллированной воды. Электролит доливать ни в коем случае нельзя, так можно совсем загубить аккумулятор.

    Нужно, чтобы на зарядном устройстве выставлялись фиксированные значения, десульфатацию малыми токами выполняем так:

    • подсоединяем к клеммам батареи «зарядник»;
    • устанавливаем напряжение 14 Вольт;
    • выставляем небольшой ток (допустим, 0,8 А);
    • заряжаем аккумулятор около 8 часов.

    После зарядки малым током плотность электролита практически не меняется (1,07 г/см?), но напряжение немного увеличивается (до 10 Вольт). После делается перерыв, и АКБ остается «отдыхать» на сутки.

    Затем напряжение (14 В) не меняем, а силу тока увеличиваем до 2-2,5 Ампер, зарядку производим в течение 8 часов. После этого, если аккумулятор не совсем «мертвый», плотность должна увеличиться до 1,11-1,13 г/см?, а напряжение – до 12,7 В.

    Далее батарею необходимо разрядить, нагрузкой может быть лампа из фары дальнего/ ближнего света:

    • подсоединяем лампу к клеммам АКБ;
    • разряжаем аккумулятор до 9 Вольт (обычно требуется для этого от 6 до 8 часов).

    Ниже напряжение падать не должно, иначе снова начнется процесс сульфатации. После разрядки повторяем зарядку в том же порядке:

    • сначала малым током 0,8 А – 8 часов;
    • затем делаем перерыв на сутки;
    • после заряжаем током 2-2,5 А восемь часов.

    После всех операций плотность электролита должна еще вырасти где-то до 1,15-1,17 г/см?, затем производим разрядку лампой от фары 6-8 часов. Весь этот цикл производим насколько раз до полного восстановления аккумулятора, плотность должна вырасти до 1,27 г/см?.

    «Моргалка» для десульфатации

    Чтобы восстановить аккумуляторную батарею, автомобилисты собирают различные схемы нагрузки, которые попеременно с зарядкой производят разряд, еще в народе их называют «моргалками» для десульфатации. Схемы могут быть абсолютно разными, но обязательными элементами являются:

    • реле, постоянно включающее и отключающее схему;
    • сама нагрузка (12-вольтовые лампочки).

    Режим пульсации может быть таким: 4,3 секунды идет разрядка под нагрузкой, затем включается на 3 секунды зарядное устройство. Лампа в момент разрядки отключается, и получается, что она моргает, поэтому подобную схему и называют «моргалкой».

    Нагрузку и ток заряда также подбирают индивидуально, но зарядка не должна составлять более 10% от общей емкости батареи. Допустим, для АКБ 65 Ампер-часов зарядный ток равен 5 или 5,5 А, а у ламп общий ток нагрузки – 1 А.

    Во время работы схемы нужно контролировать напряжение (оно колеблется приблизительно от 13,1 до 13,4 V), и вольтметр также включается в электрическую цепь.

    Напряжение меняется при включении и выключении нагрузки, часто в таких схемах используется два реле: вспомогательное и реле поворота.

    Собрано приспособление для десульфатации аккумулятора на обычном зарядном устройстве, поэтому сборка его обходится недорого.

    Схемы тренировки аккумуляторов

  • Метод восстановления малыми токами чаще всего применяется для аккумуляторных батарей с относительно небольшой степенью сульфатации пластин.
  • Десульфатация импульсными токами. В этом варианте импульс тока приблизительно в пять-шесть раз превышает стандартные значение. Амплитуда увеличивается до 50 Ампер, но ее длительность чрезвычайно мала, буквально единицы микросекунд. При импульсной зарядке постоянно идет заряд и разряд.
  • Способ реверсивной зарядки – один из вариантов импульсивного метода, когда аккумулятор заряжают токами переменной величины. В отличие от импульсного восстановления при реверсной зарядке аккумулятор часть времени заряжается, а в другое время находится в покое (зарядка и разрядка не идет).
  • Метод восстановления постоянным напряжением. Здесь на аккумулятор подается постоянный ток – сначала он большой, а затем его постепенно снижают до небольших значений.
  • Циклический способ. В этом варианте сначала батарею заряжают малым током, затем делают небольшой перерыв, и еще позднее – производят разряд. Цикл многократно повторяется до полного восстановления АКБ.
  • Способы и схема десульфатации автомобильного аккумулятора

    Десульфатация автомобильных аккумуляторов

    Каждому автомобилисту знакома ситуация, когда при повороте ключа в замке зажигания ничего не происходит. Первое, что сразу приходит на ум — проблемы с аккумуляторной батареей.

    Как правило, не всегда следует отправлять автомобильный аккумулятор в утиль, так как причиной неисправности может служить сульфатация пластин, и батарею еще можно «реанимировать».

    Но чтобы понять, как провести десульфатацию аккумулятора, нужно разбираться в процессах, происходящих внутри него.

    Причины и признаки сульфатации

    Принцип работы АКБ основан на взаимодействии свинца и оксида свинца, из которых изготовлены пластины с электролитом (раствор дистиллированной воды и серной кислоты).

    Побочным явлением при этом является сульфатация — образование сульфата свинца, оседающего тонкой пленкой на пластинах, под воздействием кислоты. Как правило, это мельчайшие кристаллы, растворяющиеся в растворе при последующей зарядке.

    Покрывая рабочую поверхность, они, обладая плохой токопроводимостью, ухудшают работу батареи.

    О возможной сульфатации можно говорить при наличии сразу нескольких факторов:

    • аккумулятор быстро заряжается (разряжается);
    • в ходе зарядки происходит закипание электролита в банках АКБ;
    • показатель плотности электролита занижается;
    • уменьшение емкости аккумулятора;
    • при полной зарядке все равно не производится запуск двигателя.

    Но это еще не приговор для АКБ. Дать ей вторую жизнь можно, проведя десульфатацию.

    Процесс десульфатации

    По сути, десульфатация — это растворение образовавшейся на пластинах пленки из сульфата. В исправном аккумуляторе это происходит само собой, при регулярной зарядке. Восстановление же работоспособности проблемного аккумулятора можно произвести различными способами.

    Рекомендуем:  Причины и устранение сульфатации автомобильного аккумулятора

    Использование специальной установки

    Это наиболее распространенный метод восстановления работоспособности батареи. Для этого применяют специальные станции, имеющие режим десульфатации, непрерывно производящие несколько циклов «заряд-разряд», тем самым раскачивая батарею.

    Все, что необходимо — это подключить десульфататор для кислотных аккумуляторов к емкости и начать процесс восстановления. Единственным минусом здесь является высокая стоимость установки.

    Применение обычной «зарядки»

    При отсутствии специального «зарядника» можно обойтись и штатным устройством. Для этого, правда, нужно запастись терпением, так как процесс займет больше времени. При десульфатации аккумулятора схема действий такова:

    • прежде всего, следует проверить уровень электролита в банках, долив, при необходимости, дистиллированную воду;
    • подключая батарею к зарядному устройству, следует выставить силу тока в 1А и напряжение 14 В. Зарядка должна длиться в течение 8 часов;
    • проверка параметров должна показать увеличение плотности жидкости, а вольтаж в пределах 10 В. В противном случае АКБ десульфатировать уже бесполезно;
    • после суточного отстоя производится повторная 8-часовая зарядка при вольтаже в 14 В и силе тока 2,5А. На выходе напряжение должно быть больше 12 В, а плотность электролита -не менее 1,13 гсм3;
    • в течение 6 часов необходимо разрядить батарею при помощи любого мощного устройства — например, лампы, доведя напряжение до 9В;
    • всю процедуру следует повторить, пока плотность электролита не поднимется до 1,27гсм3.

    Существует еще один способ, также с использованием штатного зарядного устройства. В данном случае, в требующем восстановления аккумуляторе используется дистиллированная вода вместо электролита.

    В остальном выполняется обычная процедура зарядки при напряжении 14 В. При увеличении интенсивности кипения, следует понизить вольтаж, доводя процесс до выделения газов.

    В таком состоянии батарея заряжается в течение двух недель.

    Рекомендуем:  Начало эксплуатации нового аккумулятора для авто

    После такой процедуры необходимо слить жидкость и, залив новую порцию воды, повторить цикл. Как только плотность перестанет изменяться, можно заливать стандартный электролит и выполнять обычную зарядку.

    Механическая чистка

    Механическая десульфатация представляет собой снятие налета окиси с пластин при помощи щетки с последующей их установкой обратно. Но на практике это уже мало кто применяет, так как данный способ подходит только для батарей старого образца. Новые аккумуляторы, как правило, необслуживаемые (разборка невозможна).

    Химический способ

    Восстановить работоспособность пластин можно и при помощи специальных присадок, добавляемых в банку источника питания. Спецраствор позволяет приостановить процесс сульфатации пластин.

    К сожалению, этот метод не всегда дает должный результат, восстанавливая исходные параметры только наполовину. Причина кроется в том, что присадки со временем разрушают и слой пасты на самих пластинах, что приводит к снижению характеристик.

    Но при этом следует знать, что не все типы АКБ можно восстановить после сульфатации. К примеру, десульфатация кальциевого аккумулятора не даст должного результата, это же касается и гелевых батарей, если они простояли разряженными более полугода.

    Десульфатация аккумулятора автомобиля — способы восстановления своими руками

    Десульфатация автомобильных аккумуляторов

    Несмотря на то, что технологии производства современных кислотных аккумуляторов для автомобилей шагнули далеко вперёд, решить все проблемы с их эксплуатацией до сих пор не удаётся. Одной из самых серьёзных является сульфатация пластин, которая приводит к потере емкости. По статистике более 60% замен батарей вызвано именно этим явлением.

    В то же время автомобилисту вполне под силу собственными руками произвести десульфатацию, значительно продлив срок службы АБ.

    Механизм сульфатации, ее опасность

    При эксплуатации в банках аккумуляторной батареи интенсивно протекают химические процессы:

    Активные вещества (свинец на отрицательном электроде и оксид свинца на положительном) вступают в реакцию с содержащейся в растворе электролита серной кислотой.

    Pb + PbO2 + H2SO4 -> PbSO4 + H2O

    Продуктами реакции являются сульфат свинца и вода.

    Имеет место и обратный процесс — распад молекул сернокислого свинца на ионы и восстановление на пластинах свинца и его окисла, а в растворе электролита молекул серной кислоты.

    PbSO4 + H2O -> Pb + PbO2 + H2SO4.

    Обратите внимание

    Первая реакция характерна для разряда аккумулятора, вторая протекает во время его зарядки. В результате во время разряда плотность электролита (из-за уменьшения количества серной кислоты) снижается, а при заряде — увеличивается

    Именно явление осаждения на пластинах образующегося во время разряда сульфата свинца называется сульфатацией.

    Эта соль представляет собой нерастворимый кристаллический осадок, с низкой эектро- и теплопроводностью. Ее отложения на пластинах:

    • существенно уменьшают площадь поверхностей и массу активных веществ участвующих в реакциях, что приводит к снижению емкости аккумулятора;
    • увеличению внутреннего сопротивления и падению эффективности процесса заряда батареи;
    • локальному перегреву и повышению вероятности теплового разрушения материала пластин.

    В рабочем цикле (заряд-разряд) обмен происходит постоянно, но распад сернокислого свинца оказывается не полным, что со временем приводит к накоплению его на поверхностях электродов и появлению проблем в работе АКБ.

    Особенно ярко проявляются негативные эффекты в случае длительного глубокого разряда. Это позволяет соли завершить образование крупных кристаллов, которые трудно поддаются разрушению при обратном воздействии (заряде).

    Таким образом, наибольшую опасность с точки зрения сцльфатации представляют:

    • Длительные простои авто с выключенным двигателем и подключенным аккумулятором, во время которых имеет место процесс разряда;
    • Хранение заполненной электролитом не заряженной батареи (или длительное хранение без периодической подзарядки);
    • Короткие промежутки заряда и частые интенсивные разряды АКБ (например, при движении в городском цикле, когда длительность поездки невелика, а запуск двигателя с максимальной нагрузкой для батареи – явление частое);
    • Отсутствие дозаряда до номинальных значений при помощи сетевым ЗУ;
    • Глубокие разряды АКБ.

    Влияет на процесс и температура. В холодное время года при запуске остывшего двигателя значительно растут пусковые токи и, соответственно нагрузка на АКБ, что приводит к интенсивному разряду.

    В то же время при работе генератора на заряд, распад кристаллов соли в холодном электролите идет достаточно медленно.

    В теплое время года при высокой температуре в подкапотном пространстве скорость кристаллизация сульфата возрастает, что приводит к ускоренному покрытию рабочей поверхности отложениями, особенно при недозаряженном аккумуляторе.

    Словом, процессы деградации АКБ из-за отложения солей имеют место практически всегда. Это требует от автомобилиста постоянного контроля за состоянием батареи и своевременного ее обслуживания, в том числе проведения десульфатации собственными силами.

    Чем опасна сульфатация?

    При отложении на электродах сернокислого свинца наблюдается:

    • Значительное увеличение объема пластин при снижении пористости поверхности. Возрастают механические нагрузки, что может привести к деформации и даже разрушению электродов.
    • Появление слоя неактивного вещества снижает интенсивность химических процессов. Наряду с уменьшением площади активной поверхности это приводит к потере емкости.
    • Низкая электропроводность отложений приводит к увеличению внутреннего сопротивления. В результате уменьшается КПД процесса заряда, увеличивается внутреннее падение напряжения на источнике, что вызывает увеличение токовых нагрузок, в том числе и на сам АКБ, его перегрев, переразряд и, как следствие, более интенсивную сульфатацию.

    Когда необходимо проверить батарею и провести десульфатацию?

    При правильной эксплуатации срок службы аккумулятора составляет 3-5 лет. Но его можно значительно увеличить, если периодически производить очистку пластилин от налета — десульфатацию. Выполнение этой операции один раз в 2-3 года позволит обойтись без замены АКБ 6 и более лет.

    Эти же действия необходимы и в том случае, когда налицо явные признаки сульфатации:

    • В обслуживаемых аккумуляторах при выкрученных пробках видны пластины, покрытые светлым (серебристо-бурым) налетом (именно так выглядит сульфат).
    • Заряд батареи при номинальном токе происходит очень быстро (в пределах 30 минут), затем электролит вскипает;
    • Аккумулятор не держит заряд – полностью заряженный он не может провернуть стартер и запустить двигатель, а при постоянной, даже небольшой нагрузке (например, включенных фарах) быстро разряжается.
    • Замеры емкости (если есть соответствующее оборудование) показывают катастрофическое (до 10-40%) ее падение.

    Как проводится десульфатация?

    Удалить образовавшийся на пластинах налет можно несколькими способами:

    • Механическим;
    • Химическим;
    • Электрохимическим.

    Механический способ потребует демонтажа части корпуса, извлечения и разборки пакетов пластин и очистку их от налета скребками, щетками и т.д. Задача эта — либо для промышленного оборудования, либо для умельцев, которым не жаль собственного времени, сил и здоровья (пары серной кислоты и свинец могут представлять серьезную опасность). Не менее сложна и дальнейшая сборка АБ после обслуживания.

     Однако, изредка такой метод очистки все же практикуется.

    Химическая десульфатация

    Метод основан на использовании веществ, которые хорошо растворяют сульфат свинца и остаются инертными к остальным материалам конструкции батареи.

    Используется при этом раствор Трилона В – натриевой соли органической (этилендиаминтетрауксусной) кислоты (2% от веса раствора) и аммиака (5% от веса) в дистиллированной воде.

    Основной компонент – весьма специфическое соединение, которое реагирует со многими катионами, превращая нерастворимые соли в растворимые.

    Важно

    Широко распространено в промышленности, однако для частного владельца автомобиля приобретение его может казаться затруднительным.

    Процесс десульфатации достаточно прост:

    • Готовят раствор Трилона В (пропорции упоминались выше);
    • Полностью заряжают АКБ;
    • Сливают электролит;
    • Промывают банки дистиллированной водой (2-3 раза);
    • Заливают приготовленный раствор и оставляют не менее чем на 60 минут (об окончании активного процесса можно судить по прекращению газовыделения);
    • По завершении активной фазы раствор сливают;
    • Осуществляет промывку банок 1-2 раза дистиллированной водой;
    • Заливают новый электролит и полностью заряжаютАБ.

    Электрохимический метод

    Такие технологии десульфатации основаны на разложении сернокислого свинца в процессе заряда. Чаще всего встречаются несколько вариантов, отличающихся условиями работы оборудования, временем процессов и результатами.

    Длительное восстановление АКБ в щадящем режиме используется, если владелец автомобили располагает значительным запасом времени для обслуживания аккумулятора.

    • Из банок АБ полностью сливают электролит;
    • Заливают ёмкости дистиллированной водой так, чтобы пластины были полностью покрыты.
    • Выставляют на зарядном устройстве и подключают к клеммам батареи. Поскольку дистиллированная вода — плохой проводник, ток заряда будет небольшим. Контролируют начало процесса по интенсивности газообразования — если газ выделяется активно, напряжение следует снизить.
    • В таком состоянии оставляют систему на 5-15 дней. Постепенно сульфат свинца разрушается, в воду поступают молекулы серной кислоты, превращая ее в слабый электролит.
    • Периодически производят замеры плотности, если она не меняется процесс можно прекращать.

    Гораздо чаще применяют другую технологию, позволяющую добиться восстановления пластин в течение двух-трёх дней. Для этого:

    • Первоначально измеряют плотность электролита во всех банках.
    • Подключают зарядное устройство, устанавливая ток заряда аккумулятора в пределах 0.04 номинальной емкости (например, для АБ 50Ач это величина составит 2А). Такой щадящий режим необходим для предотвращения закипания.
    • Устройство остаётся подключённым в течение 8ч.
    • Отключают ЗУ и выдерживает паузу порядка 14ч. За это время концентрация и плотность электролита во всём объёме успевает выровняться.
    • Процесс повторяют три-четыре раза, измеряя каждый раз плотность электролита.

    Видео на примере зарядника Вымпел 55.

    На последней циклах она должна оставаться неизменной и вырасти по сравнению с начальными.

    Аналогичный результат получают при использовании ЗУ с циклическим режимом работы. Программируют цикл заряд-разряд таким образом, чтобы токи были приблизительно одинаковыми (зарядный может быть больше), и устанавливают интервалы порядка 5-8 часов. По окончании 4-5 циклов проверяют результат, измеряя емкость батареи или плотность электролита.

    Видео на примере зарядного устройства Полюс-912Т.

    Иногда используются и более радикальные методы, когда заряд ведется при больших токах. В этом случае происходит кипение с выделением паров кислоты, кислорода и водорода, электроды батареи ударно возбуждаются, что приводит к интенсивному разрушению отложений на поверхностях.

    Такая технология опасна для здоровья человека за счет выделения токсичных веществ и взрывоопасной газовой смеси.

    Кроме того, такой метод может привести и к совершенно противоположному результату – сульфат не восстанавливается, а выпадает в осадок или собирается в некоторых местах на пластинах, что может привести к замыканию и выходу АКБ из строя полностью.

    Понравилась статья? Поделиться с друзьями:
    Все о сантехнике
    1 / 9
    2 / 9
    3 / 9
    4 / 9
    5 / 9
    6 / 9
    7 / 9
    8 / 9
    9 / 9