Монтаж крышного вентилятора на кровле

Установка крышных вентиляторов

Монтаж крышного вентилятора на кровле

Системы вентиляции жилых, общественных и производственных зданий имеют различную структуру и конфигурацию. Для помещений большого объема, не разделенных на отдельные комнаты или отсеки, использование разветвленной системы воздуховодов нецелесообразно.

В зависимости о назначения здания, воздухообмен может осуществляться без установки воздушных каналов. Например, крупные залы, зрительные или торговые, аэропорты или иные помещения больших объемов нуждаются в наличии специфических вентиляционных устройств.

Важно! Помимо вывода отработанного воздуха, крышные вентиляторы эффективны при удалении дыма и прочих продуктов горения, водяного пара, неприятных запахов, удушливых газов и т.д.

Если приток обычно осуществляется через вентиляционные щели, откуда в помещение поступает подготовленный, отфильтрованный и подогретый воздух, то вытяжку вполне возможно производить более простым способом.

Наиболее распространенным вариантом удаления отработанного воздуха в таких системах является крышный вентилятор. Это устройство, способное работать самостоятельно или подключенным к системе воздуховодов.

Большинство крышных вентиляторов с точки зрения конструкции представляют собой разновидность радиальных устройств прямоточного или обычного действия. По типу выброса отработанного воздуха крышные вентиляторы бывают:

Важно! Тип выброса значительно изменяет конструкцию вентилятора, так как для горизонтального варианта требуется обеспечить открытые боковые стороны устройства, находящиеся в плоскости вращения рабочего колеса.

Для вертикального выброса требуется открытая верхняя часть устройства. Горизонтальный выброс удобен тем, что верхняя часть закрыта от попадания дождя, снега или иных атмосферных осадков на вентилятор или внутрь здания.

При этом, выбрасываемая среда концентрируется вокруг вентилятора, что способно затруднить обслуживание или иные работы на кровле. Факельный выброс выводит отработанные газы вертикально вверх, поэтому работы на кровле производятся без помех.

Но такая конструкция затрудняет защиту от дождя, требует защиты при отключениях.

Монтаж

Монтажные работы производятся непосредственно на кровле. Материал покрытия, угол наклона скатов крыши не имеют значения, так как монтаж производится на специальное опорное устройство — монтажный стакан.

Это своего рода узел прохода через кровлю, обеспечивающий вертикальную установке вентилятора и корректирующий его положение независимо от угла наклона.

Конструкция монтажного стакана достаточно сложна, так как она должна обеспечить защиту от попадания внутрь здания влаги, птиц, насекомых или мелких животных.

Во время работы вентилятора обратный клапан открыт, при остановках он перекрывается. Монтажные стаканы имеют круглое сечение в месте соединения с вентилятором, но участок прохода сквозь кровлю часто делается квадратным или прямоугольным, что значительно облегчает укладку кровельного покрытия.

Используемые для монтажа инструменты и приспособления

Для монтажа понадобятся следующие инструменты:

  • электродрель или шуруповерт
  • домкрат
  • транспортировочная тележка
  • анкерные болты с гайками и шайбами
  • материал для герметизации

Отверстие для монтажа проделывается при помощи отбойных молотков или перфораторов. Во время работ необходимо обеспечить отсутствие персонала в зоне разлета обломков потолочной плиты, так как все работы производятся снаружи и работниками наличие в опасном участке людей контролироваться не может.

Из материалов понадобятся:

  • монтажный стакан и поддон
  • швеллер
  • деревянные бруски или доски
  • виброопоры
  • термостойкий кабель
  • специальные обечайки для формирования потока

В зависимости от типа вентилятора или особенностей его конструкции могут понадобиться и другие устройства или материалы. Для уточнения списка нужных элементов монтажа следует подробно изучить руководство по установке вентилятора и монтажного стакана.

Установка монтажного стакана под крышный вентилятор

Перед началом монтажных работ необходимо убедиться в полном соответствии стакана, поддона и вентилятора. Установка монтажного стакана производится двумя способами:

  • монтаж на вентиляционные шахты или колодцы на кровле здания
  • установка на чердачное перекрытие

Первый вариант используется преимущественно на кровлях, положенных на плотную плиту перекрытия.

Второй метод используется там, где кровельное покрытие установлено на стропильную систему и не способно нести монтажный стакан и вентилятор.

Кроме того, прямого сообщения с внутренними помещениями в этом случае не получится. Выбор того или иного варианта производится на стадии проектирования вентиляционной системы.

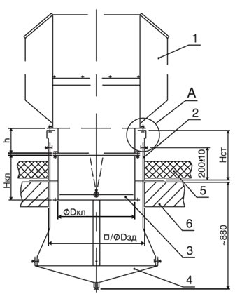
Прежде всего, в стакане надо просверлить отверстия для крепления поддона. После установки стакана это сделать будет невозможно, поэтому важно не упустить этот момент. Отверстия сверлятся посередине каждой из боковых стенок стакана, диаметр отверстий составляет 14 мм. Высота отверстий, считая от основания стакана, составляет 200 мм.

Затем приступают к установке стакана. Он располагается строго вертикально. Необходимо обеспечить полное соответствие всем требованиям СНиП.

Крепление стакана к кровле производится наиболее эффективным способом для имеющейся конструкции крыши.

Важным моментом является учет возможных нагрузок на стакан и основание, обеспечение возможности сопротивления этим нагрузкам без потери работоспособности или герметизации поверхности.

Тяги поддона необходимо закрепить на стакане перед началом установки вентилятора. Для этого используются болты с гайками М 12. Поверхность вокруг стакана тщательно герметизируется. Кровельное покрытие на 2 метра вокруг вентиляторов с боковым выбросом должно состоять из негорючих материалов.

Руководство по установке крышных вентиляторов

Перед установкой крышного вентилятора на монтажный стакан необходимо присоединить обратный клапан. Устройство, поступившее с завода-изготовителя, подлежит тщательному и внимательному осмотру.

Створки клапана могут быть зафиксированы производителем для безопасности транспортировки, поэтому следует освободить их от фиксаторов (транспортировочных болтов), убедиться в свободном ходе створок без заедания или помех.

Для крепления обратного клапана вентилятор необходимо подвесить на специальном подъемном устройстве. Ставить его на клапан для монтажа запрещается, это практически всегда заканчивается перекосом клапана и выводом его из строя.

Точность соединения проверяется по специальным отметкам, нанесенным изготовителями. Если их не имеется, то потребуется аккуратность и точность монтажа без перекосов.

Необходим постоянный контроль положения вентилятора относительно клапана.

Установка вентилятора с прикрепленным обратным клапаном выполняется в строго вертикальном положении. Крепежные отверстия вентилятора совмещаются со шпильками, наваренными на опорную площадку стакана. Навинчивается по 2 гайки, сила зажима подлежит тщательному контролю.

Кровельное покрытие вокруг установленного вентилятора тщательно приводится в порядок. При необходимости производят полный цикл кровельных работ вокруг крышного вентилятора, включающий в себя герметизацию зазора, укладку песчано-цементной стяжки, установку гидроизолирующих материалов, фартуков и юбок, прочих необходимых элементов кровельного покрытия.

Важно! Необходимо помнить, что целостность поверхности кровли в участке установки вентилятора позволит обеспечить работоспособность потолочного перекрытия здания и элементов конструкции, непосредственно расположенных на нем.

Установка крышного вентилятора

Монтаж крышного вентилятора на кровле

На сегодняшний день есть огромное количество механизмов, наличие которых нельзя назвать жизненно необходимым. Однако в некоторых случаях без них никак нельзя обойтись. К таким устройствам относятся механизмы по кондиционированию, а именно крышный вентилятор. Он выполняет крайне важную функцию по дымоудалению.

Например, возникающий дым или газ в случае пожара или других обстоятельств крышный вентилятор оперативно удаляет из помещения. Если такой необходимости нет, тогда он может работать как система кондиционирования или же бездействовать до возникновения непредвиденной ситуации. Рассмотрим, как правильно и в какой последовательности установить крышный вентилятор дымоудаления.

Итак, какие они бывают, и как правильно выбрать крышный вентилятор.

Виды крышных вентиляторов

Порядок сборки

Исходя из особенностей конструкции, можно выделить три вида вентиляторов, которые пользуются большей популярностью: центробежный, диагональный и осевой.

Центробежный

  • Центробежный. Еще его называют радиальным. По принципу работы он похож на осевой и диагональный. Его работа основана на центробежной силе. Лопасти вентилятора имеют особую форму, что позволяет всасывать воздух.
  • Диагональный. Этот вид вентилятора основан на работе осевого вентилятора. Лопасти всасывают воздух в осевом направлении, а выводят его в диагональном.
  • Осевой. Сегодня именно этот вентилятор пользуется наибольшим спросом. Вокруг оси с определенной скоростью осуществляется вращение лопастей. Что касается обслуживания и монтажных работ, то он наиболее практичный в этом отношении.

Конструкции осевого и радиального вентиляторов

Выбор крышного вентилятора

При выборе данного агрегата в первую очередь следует обращать внимание на следующие параметры:

  • надежность конструкции,
  • простота установки,
  • мощность,
  • долговечность.

Среди всего перечисленного именно мощность является, пожалуй, главным компонентом, как и в любом другом современном устройстве.

Именно от этого показателя и будет зависеть скорость удаления смертоносного газа и дыма из промышленных или складских помещений.

Но если вы хотите такую установку использовать в бытовых условиях, то не стоит переплачивать за сверхмощный вентилятор. То есть в каждом отдельном случае выполнять выбор следует в индивидуальном порядке.

Крышный вентилятор фирмы sistemair

Также обратите внимание и на простоту монтажа. Особенно это важно, если вы хотите выполнить установку крышного вентилятора самостоятельно. Поэтому простота монтажных работ важное требование. Это относится и к его надежности.

Как правило, на надежность влияет качество сборки и используемых деталей. Поэтому обращайте внимание на производителя вентилятора. Например, одна из самых популярных фирм, которая производит надежные вентиляторы – System air.

Вентиляторы этой компании пользуются большим спросом в странах Азии, Америки и Европы. При выборе вы можете увидеть большой ассортимент, отдельные вентиляторы будут отличаться своей мощностью и соответственно, производительностью.

Поэтому вы гарантировано сможете выбрать тот вентилятор, который идеально будет подходить к вашим условиям.

Ну и еще один немаловажный показатель, это срок продолжительности непрерывной работы. Не стоит забывать, что сегодня не существует техники, которая бы не ломалась. Рано или поздно вам придется осуществлять его ремонт. Но если вы сразу приобретете надежную систему по дымоудалению, то это будет служить гарантией долгой ее работы.

Монтаж крышного вентилятора

Перед началом работ вам следует обратить внимание на его вид, размер, конструкцию кровли, угол ее наклона и из чего она выполнена. Именно от этих факторов и будет зависеть выбор схемы по установке. Насколько тщательно вы все продумаете и подготовите, настолько дольше прослужит вентилятор, кроме того, вы значительно сократите расходы на эксплуатационные затраты.

Установка крышного вентилятора

Если крыша выполнена из мягкого материала, тогда следует позаботиться о дополнительной защите от возникающей вибрации и шума. В подобных случаях разрабатывается индивидуальный проект.

Что касается жесткой кровли, то установка вентилятора начинается со стакана. Это конструкция изготавливается из оцинкованной стали. Если имеются вентиляционные колодцы или шахты, выполненные из бетона или кирпича, то их можно использовать при установке стакана.

Если их нет, тогда стакан в вертикальном положении устанавливается на несущую часть крыши. Высота стакана должна достигать 400 мм, а внутренний диаметр 700, 1000 или 1450 мм, исходя от потребностей.

После монтируется поддон, который будет защищать основную конструкцию от посторонних предметов. Он крепится при помощи болтов, гаек и шайб. Далее непосредственно монтируется сам вентилятор.

Элементы крепления

Теперь приступаем к самому важному процессу. Перед монтажом вентилятора убедитесь в том, что в стакане имеются анкера. Их количество и диаметр должны соответствовать тем, что на вентиляторе. Осмотрите и проверьте зазоры между рабочим колесом центробежного вентилятора и входного патрубка.

Далее, при помощи автомобильного крана вентилятор поднимается непосредственно к месту установки. В том случае когда использование автомобильного крана невозможно, для установки используйте реечный домкрат или лебедку. Перед началом монтажа установите резиновую прокладку на поверхность стакана.

Когда вентилятор установлен на стакан, через отверстия продеваются анкерные болты.

Когда все закреплено, возьмите герметик и заделайте образовавшийся зазор между стаканом и самим вентилятором. Если стакан был установлен на новую конструкцию, тогда рекомендуется сделать цементно-песчаную стяжку.

По контуру стакана устанавливаются фартуки или юбки из оцинковки, а также восстанавливается теплогидроизоляция нарушенных слоев крыши. В процессе этих работ соблюдайте все рекомендации и строительные нормы.

В таком случае вся работа будет выполнена правильно.

Приточный вентилятор

Как только все монтажные работы завершены, остается только подключить прибор к электросети.

Видео

Наглядно процесс монтажа показан ниже:

Крышные вентиляторы и их применение

Монтаж крышного вентилятора на кровле

Это оборудование входит в состав вентиляционных систем. Эти агрегаты монтируются на крышах, а необходимы они для очищения воздуха в жилых или же производственных зданиях.

Вентиляция и удаление «плохого воздуха» из помещений осуществляется при помощи специальных технологических каналов.

Крышные вентиляторы и их применение оптимально в помещениях с каминами, плохо проветриваемых комнатах и в других случаях.

Для жилых зданий проблемы вентиляции стали актуальными последние 2 лет. Именно за этот период времени в моду вошли «евроремонты». Зачастую выполняются они неграмотно.

В результате комната максимально герметично закрывается стеклопакетами, из-за чего получается дефицит свежего воздуха. Это приводит к различным грибковыми и другими отложениям на стенах ванных комнат, туалетов и других помещений.

Это иногда может привести к очень тяжелым последствиям и даже аллергиям.

Крышный вентилятор

Сегодня все больше людей заботятся о хорошем микроклимате в квартирах, домах, в производственных цехах. Поэтому резко вырос спрос на климатическое оборудование и на вентиляционные системы. К тому же стабильно хороший спрос сегодня и на кровельные вентиляционные агрегаты для частных домовладений, многоэтажных зданий, общественных или же промышленных объектов.

Области применения кровельных вентиляторов

Это вентиляционное оборудование широко применяется для организации вентиляционных воздушных потоков в любых условиях. Зачастую эти системы приобретают для монтажа в жилых домах с большим количеством квартир, промышленных объектов, супермаркетов, ресторанов, офисных зданий, различных складов, бассейнов и гаражных зданий. Эти устройства устанавливаются на крышах. Это позволяет:

  • Значительно сэкономить полезный объем в различных типах помещений, который затем можно успешно использовать для других целей;
  • Свести к минимуму длину или же полностью избавиться от воздуховодов.

Вентиляционные коммуникации с использованием этой техники простые и максимально удобные. Из огромного количества существующих вариантов различных вытяжных вентиляционных устройств – вентиляторы для монтажа на кровле самые экономичные.

Так как эти приборы выполняют функции вентиляционного оборудования, то задачи, которые они решают, такие же, как и у типичных вентиляционных систем.

Функциональные особенности вентилятора для кровли

Кроме работы с запахами, устройство выполняет профилактику различных грибковых образований и плесени на стенах, углах, в подсобных комнатах. Если необходим постоянный приток воздуха с улицы, то лучшего устройства для этого просто не существует.

В случае возгораний, в помещениях с каминами эти устройства легко проветрят помещение и уберут дым. Сегодня есть специальные модификации этих приборов для улучшения тяги в каминах.

Различия рабочих колес кровельных вентиляторов

Как и прочие механизмы, эти агрегаты умеют создавать потоки воздуха. Делают они это при помощи рабочих колес. Эти детали различаются на следующие типы:

  • Осевые колеса. Они предназначены для работы в коротких воздуховодах, а потоки воздуха направляются вертикально по оси;
  • Радиальные. Здесь в качестве колеса применяется крыльчатка с лопастями специальной конструкции. Они завернуты назад. Зачастую, эти колеса работают в системах дымоудаления. Поток воздуха как бы отбрасывается в перпендикулярном направлении к оси вращения колеса;

    Вентилятор для крыши

  • Диагональные системы. Здесь воздух всасывается по направлению оси, а вот выброс – по диагонали. Это все из за особенной формы лопастей рабочего колеса;
  • Центробежный. Этот тип колеса отличается от остальных применением центробежной силы.
  • В случае радиальных колес, важно, чтобы лопасти крыльчатки были выполнены из устойчивого к коррозии материала. Так, агрессивное воздействие внешней среды не будет оказывать негативного воздействия на оборудование.

    Осевые устройства отличаются низким КПД. Они применяются в общеобменных вентиляционных комплексах. Радиальное оборудование имеет показатели КПД выше. Это более мощные крышные вентиляторы и их применение наиболее актуально в вытяжных комплексах, то есть там, где аэродинамическое сопротивление очень высокое.

    Особенности конструкции крышных вентиляторов

    Если рассматривать принципиальную схему, то эти устройства состоят из двигателя, кожуха, основания, конфузора.

    В качестве электродвигателя применяют асинхронные трехфазные моторы. Кожух выполняет функцию формирования исходящих потоков воздуха. Также в кожухе смонтированы колеса. Основание служит для монтажа конструкции и прочной ее фиксации на бетонной или кирпичной площадке. Стоит заметить, что прежде чем устанавливать этот агрегат, площадка должна быть заранее подготовлена.

    Конфузор представляет собой специальный раструб, который собирает и втягивает воздух из помещения.

    Конструкция крышного вентилятора

    Кроме этих основных узлов конструкция включает в себя дополнительные детали. Это дефлектор. Его функция — это защита вентиляционных каналов от природных осадков. Он монтируется внутри корпуса модели.

    Также в корпусе системы имеются термодатчики. Они призваны следить за температурой электромотора. Это бережет агрегат от перегрева.

    Правила монтажа

    Кровельные вентиляторы зачастую имеют весьма крупные габаритные размеры. Некоторые модели могут достигать до 1,5 метра в диаметре. Именно поэтому для монтажа этих устройств нужно соблюдать основные правила.

    Производить установку лучше всего на твердой крыше. Для этого заранее нужно подготовить специальные несущие конструкции на воздуховодах или же шахтах. Обычно эти несущие детали обустраиваются на завершении канала воздуховода.

    На мягкой крыше следует проводить монтаж по индивидуальным возможностям и схемам. Здесь варианты различаются по ситуации.

    Если приходится устанавливать систему в месте примыкания к бетонным или же кирпичным постройкам, нужно предварительно гидроизолировать стену. Для того чтобы аппарат не собирал на себя наросты из снега, на выходах должны монтироваться специальные утепленные дефлекторы.

    Разновидности кровельных вентиляционных систем

    Современный крышный вентилятор

    Различают модели по габаритным размерам, уровню производительности, мощности устройств, силе звукового давления. Среди большинства кровельных моделей можно выделить следующие:

    • Осевые устройства для монтажа на производственных или административных зданиях;
    • Устройства КРОВ. Применяются исключительно в жилых домах и на производстве;
    • Оборудование серии ВКРМ и ВКР. Эти серии призваны удалять объемы воздуха по сетям воздуховодов или же из различных помещений;
    • Также можно выделить приборы, которые устанавливаются в зданиях, в которых используют открытый огонь для отопления, приготовления пищи.

    Не стоит производить монтаж этого оборудования на каминные или же печные дымоходные системы.

    Как выбрать кровельные вентиляторы

    Выбор этих устройств – сложный процесс. Для того, чтобы приобрести необходимые крышные вентиляторы и их применение было по задаче, нужно учесть основные моменты.

    При выборе важно учесть количество этажей. Для одноэтажных строений можно использовать осевые модели. В случае, если в здании более чем один этаж, тогда только радиальное оборудование.

    Также при выборе необходимо учитывать объем тепловой нагрузки, например, при пожаре. Для жилых помещений он составляет порядка 300 градусов. Для офисов – до 400 градусов. Для промышленных и складских зданий – объем составляет до 450 градусов.

    Также важно то место, где будет монтироваться система. Оборудование для удаления дыма отлично будет выполнять свои функции и в одноэтажных домах, и в многоэтажных зданиях.

    Чтобы не сделать ошибок при выборе и не переплачивать за ненужные функции, прежде чем приобретать, лучше лишний раз проверить все моменты. Не лишним будет получить консультацию у эксперта по этому оборудованию. Но представленной информации достаточно для выбора необходимого устройства.

    Монтаж крышных вентиляторов

    Монтаж крышного вентилятора на кровле

    Главная особенность крышных вентиляторов в том, что они спроектированы для установки на крышах зданий и предназначены для удаления воздуха из помещений через технологический проем в крыше. Вентиляторы устанавливаются на крышах жилых, общественных и промышленных зданий.

    Крышные вентиляторы имеют свободный выход воздушного потока в атмосферу. Для предотвращения нежелательной вытяжки воздуха за счет конвективных потоков при неработающем вентиляторе на входном патрубке крышного вентилятора необходимо предусмотреть и смонтировать обратный клапан.

    Конструктивно крышные вентиляторы бывают осевыми и радиальными. Осевые крышные вентиляторы обладают низким КПД и чаще всего используются для общеобменной вентиляции.

    Радиальные крышные вентиляторы имеют КПД выше, чем осевые, создают более высокое давление, поэтому они нашли более широкое применение.

    Благодаря своим характеристикам радиальные крышные вентиляторы могут быть использованы не только в системах общеобменной вентиляции, но их также целесообразно подключать к вытяжным воздуховодам, то есть они могут использоваться в системах с большим аэродинамическим сопротивлением.

    Монтаж крышных вентиляторов связан с работой на крышах, то есть на высоте, поэтому монтаж вентилятора начинают со строповки и его подъема автомобильным или башенным краном к месту монтажа. Если вентилятор укомплектован виброизоляторами, то виброизоляторы необходимо закрепить стопорными болтами, предусмотренными конструкцией вентилятора.

    Заказать монтаж крышных вентиляторов

    Кровли, на которых устанавливаются крышные вентиляторы, бывают разными. Для зданий с жесткой плоской кровлей технология устройства узла прохода перекрытия достаточно проста.

    Для этого в перекрытии делается технологический проем соответствующего размера. Вокруг проема оборудуется фундамент из кирпича или ленточный фундамент, отлитый из бетона, на который устанавливается вентилятор.

    Обустроенный узел будет являться фактически продолжением вентиляционной шахты, предусмотренной проектом здания.

    Монтаж крышных вентиляторов на стаканах

    Зачастую вместо вышеописанного обустройства узла для ускорения и упрощения монтажных работ используют специальные так называемые стаканы, которые могут поставляться комплектно с крышными вентиляторами. Заводы – изготовители выпускают типовые железобетонные или стальные стаканы с минимальной высотой 400 мм и стандартным внутренним диаметром 700, 1000, 1450 мм.

    Стаканы имеют монтажные отверстия на крепежных фланцах для их крепления к плоскости крыши анкерными болтами. Стакан и крышный вентилятор соединяются между собой фланцами, скрепленными болтовыми соединениями.

    Между фланцами должна быть резиновая прокладка для герметичности соединения.

    При монтаже стакана важно выставить его строго по вертикали, а вентилятор крепить на стакане, выверив горизонтальность по уровню, так как перекосы при монтаже могут негативно сказаться на работе вентилятора и сократить срок его службы.

    После выполнения монтажа стакана и вентилятора устраняются возможные зазоры при помощи герметика. Затем песчано-цементным раствором выполняется стяжка и окончательно укладывается теплогидроизоляция или устанавливается фартук из кровельной стали.

    Системы монтажа крышных вентиляторов на мягкой кровле

    Стаканы целесообразно применять на крышах зданий с жесткой плоской кровлей. Однако современное строительство все чаще использует мягкую кровлю. Стандартного универсального решения технической задачи прохода через мягкую кровлю в настоящее время не существует.

    Однако, значительное увеличение количества зданий с мягкой кровлей привело к росту заинтересованности данной проблемой со стороны проектантов. Результатом такой заинтересованности явилась разработка нескольких способов прохода через мягкую кровлю.

    Такие разработки имеют профессиональный термин – системы монтажа крышных вентиляторов (СМКВ).

    Главным элементом в подобных системах являются опорные рамы для установки крышного вентилятора. Иногда это могут быть антивибрационные опорные рамы, когда виброизоляторы встраиваются в раму СМКВ; иногда рама может быть оборудована системой гашения сейсмической волны.

    Одним из основных требований к стандартным СМКВ является небольшой вес системы и низкие динамические нагрузки на кровлю. Вес крышных вентиляторов не должен превышать 100 кг, а давление на поверхность кровли не более 800 Па.

    Вес сети воздуховодов, соединенных с вентилятором, не должен передаваться на СМКВ и крышный вентилятор, потому воздуховоды должны крепиться к строительным конструкциям.

    Использование облегченных вентиляторов дает возможность применять в СМКВ обычные деревянные каркасы, облицованные листовым алюминием, либо оцинкованной жестью. Деревянные брусья используются для крепления нижней части вентилятора и одновременно для фиксации гидроизоляционной пленки.

    Некоторые производители поставляют крышные вентиляторы, укомплектованные СМКВ. Силовой каркас СМКВ может быть цельносварным металлическим. Системы бывают различных размеров и трудно поддаются унификации, потому часто СМКВ изготавливаются на заказ под конкретные требования объекта.

    Выполнение монтажных работ требует соблюдения всех норм СНиП и ТБ.

     

      Телефон:   (495) 783-87-60 —  многоканальный

      E-mail:

                

    Монтаж крышных вентиляторов

    Монтаж крышного вентилятора на кровле

    Прежде чем взяться за установку крышных вентиляторов, необходимо определить их размер и вид, конструкцию крыши, материал кровли и угол наклона крыши. Все это немаловажные факторы, влияющие на схему монтажа. Качественный монтаж позволяет увеличить их срок службы и уменьшить эксплуатационные затраты.

    Элементы для вентиляции через кровли.

    Размещение крышных вентиляторов начинается с кровли. Уровень шума и вибрации, создаваемый вентиляционной системой, не должен превышать установленных требований, с учетом этого выбирается место монтажных работ.

    Чтобы обеспечить допустимый уровень шума и вибрации, необходимо предусмотреть средства защиты. На кровле с мягким покрытием монтаж крышных вентиляторов зависит от множества условий.

    Поэтому стыковка и крепление к соответствующим системам выполняются по индивидуальным проектам.

    При наличии вентиляционных шахт и колодцев из бетона или кирпича они также могут быть использованы для установки данной конструкции. В ином случае монтаж стакана осуществляется на несущей части кровли вертикально. Его внутренний диаметр может принимать значение в 700, 1000 и 1450 мм, а минимальная высота должна быть 400 мм.

    До начала монтажа важно прикрепить поддон. Его функциями, помимо защиты от посторонних предметов, которые могут попасть в обслуживаемое помещение при ремонте и установке вентилятора, работающего без сети воздуховодов, являются сбор и удаление влаги.

    Крепление поддона осуществляется с помощью болтов, гаек и шайб М12. Для этих целей стакан должен иметь отверстия диаметром 14 . 20 мм в середине каждой боковой стенки. Иначе такие отверстия необходимо просверлить на расстоянии 200 мм от его основания.

    Установка крышного вентилятора

    Монтаж крышного вентилятора.

    Прежде чем начать установку данного оборудования, требуется проверить, имеются ли анкерные болты в стакане, их расположение, количество, а также соответствуют ли они расположению и диаметру крепежных отверстий в вентиляторе. Точно так же проверяются и осматриваются на предмет зазоров между входным патрубком и рабочим колесом центробежные вентиляторы.

    С помощью башенного, автомобильного крана крышный вентилятор поднимают к месту монтажа. Перед тем как его опустить и начать монтаж, на поверхность стакана помещают резиновую прокладку. В случае если возможность подать вентилятор к месту монтажа отсутствует, установка происходит с помощью реечных домкратов.

    Подъем в этом случае осуществляется также с помощью крана, лебедки, иных средств. Перед этим на кровлю укладывается дощатый настил, идущий от места выгрузки оборудования и до стакана.

    Поднятый вентилятор устанавливают и закрепляют на два разгрузочных швеллера, положенных на две тележки. Между плитой вентилятора и швеллерами укладываются два деревянных бруска. С помощью тележек оборудование подвозят к месту монтажа.

    Затем домкратами его приподнимают и опускают на стакан, предварительно сняв швеллеры и бруски.

    Для установки крышного вентилятора через отверстия в его основании пропускают анкерные болты, на каждый из которых обязательно устанавливаются минимум две гайки. После окончания монтажных работ зазоры между верхом стакана и вентилятором надлежит заделать строительным герметиком.

    Если же монтаж стакана осуществляется на новую конструкцию, важно выполнить цементно-песчаную стяжку, монтаж по контуру стакана оцинкованных «фартуков» и «юбок», восстановление теплогидроизоляции слоев кровли. Важно не забывать при этом о строительных нормах и рекомендациях.

    Завершающим этапом установки является подключение прибора к электросети.

    Крышные вентиляторы и их применение

    Монтаж крышного вентилятора на кровле

    Вентиляционная система здания призвана обеспечить качественный приток свежего воздуха, своевременно и полноценно удалять пыль, дым и вредные газы.

    Она входит в систему жизнеобеспечения и является важным элементом противопожарной защиты здания или сооружения. Вентиляционная система представляет собой разветвленную сеть воздуховодных каналов, фильтров, вентиляторов и климатического оборудования.

    Одним из наиболее популярных на сегодняшний день видов такого оборудования являются крышные вентиляторы.

    Область применения вентилятора

    Крышные вентиляторы используются в качестве прибора принудительного воздухообмена в любых, даже самых сложных, условиях. Они устанавливаются:

    • на объектах тяжелой промышленности;
    • в жилых домах;
    • в торговых центрах;
    • на офисных зданиях и бизнес-центрах;
    • в зданиях, где имеются специальные помещения с крупными кухнями (рестораны, кафе, бистро);
    • в бассейнах;
    • в крупных гаражах.

    Главной задачей крышных вентиляторов является удаление из помещения влажного воздуха, неприятного запаха, дыма и обеспечение необходимых условий, препятствующих развитию грибковых образований и плесени.

    В отличие от других климатических установок вентиляторы, которые устанавливаются на крыше, существенно экономят пространство внутри обслуживаемого объекта и сводят к минимуму количество воздуховодных каналов.

    Конструкционные особенности

    Вне зависимости от типа и разновидности, основными элементами, составляющими конструкцию крышного вентилятора, являются:

    • двигатель;
    • кожух;
    • основание;
    • конфузор.

    Кожух формирует исходящие потоки воздуха. Основание служит для монтажа прибора на подготовленной заранее поверхности крыши и устойчивой его фиксации. Конфузор изготавливается в виде специального раструба, который предназначен для сбора и вытягивания воздушных масс из помещения.

    Помимо перечисленных основных узлов, конструкция крышного вентилятора может содержать в себе ряд дополнительных элементов. Например, дефлектор, который защищает воздухоотводные каналы от попадания атмосферных осадков.

    Конструкция вентилятора рассчитана на работу в непрерывном режиме.

    Виды вентиляционных систем

    Любой крышный вентилятор изготавливается исходя из условий, в которых будет эксплуатироваться и требуемых для него мощностей. Они бывают разных размеров, мощности, , производительности. Однако, существует различия, основанные на принципе работы вентиляторов:

    • Осевой крышный вентилятор. Он перемещает воздушные массы вдоль своей оси. Такие приборы устанавливаются на крыши производственных и административных зданий прямо в вытяжной канал. Работают они как на вытяжку воздуха, так и на его нагнетание внутрь помещения. Лопатки осевого крышного вентилятора загнуты назад, так как он имеет повышенный КПД. Корпус изготавливается из высокопрочной стали с антикоррозионным покрытием.
    • Диагональный вентилятор. Такой прибор представляет собой металлический корпус, в котором происходит вращение крыльчатки с лопастями, параллельной оси вращения. Подобная конструкция вентиляционной системы позволяет делать прибор компактным и легким. Главное преимущество диагональных вентиляторов – это отсутствие необходимости в их обслуживании, так как изготовитель заранее снабдил его неразборным подшипником. Несмотря на маленький вес и небольшие габариты диагональный вентилятор отличается повышенной производительностью.
    • Радиальный вентилятор (ВКР). Представляет собой вращающееся колесо, на котором смонтированы лопасти, имеющие особую аэродинамическую форму. Подобные приборы очень мощны, однако, одним из их главных недостатков считается повышенная шумность работы. Чаще всего вентилятор ВКР применяют на объектах промышленного и хозяйственного производства, так как из-за повышенного шума работы применение их в быту будет создавать неудобства окружающим людям.

    По способу выведения воздуха все крышные вентиляторы делятся на две группы: приборы, которые выводят воздушные массы, дым и продукты горения вверх и приборы с горизонтальным воздухоотводом.

    По способу установки кровельные вентиляционные системы делятся на:

    • Безканальные.Устанавливаются на крышах одноэтажных зданий.
    • Канальные.Устанавливаются на зданиях, которые имеют обширную сеть воздухоотводных каналов, идущих, например, к нескольким местам приготовления пищи.
    • Универсальные.Устанавливаются в любой из двух вышеперечисленных систем.

    Монтаж крышных вентиляторов

    Перед тем как начать работы по установке крышного вентилятора необходимо в первую очередь обратить внимание на вид прибора, оценить его размеры, конструкцию и покрытие крыши. От этого зависит схема установки вентилятора.

    Если кровля выполнена из мягкого материала, то необходимо позаботиться о дополнительной защите от вибрации и шума. Чаще всего в таких случаях придется разрабатывать типовой проект.

    Установка вентилятора на жесткую кровлю начинается с монтажа специального стакана. Представляет он собой цилиндрическую конструкцию, выполненную из оцинкованной стали высотой до 400 мм и диаметром до 1500 мм в зависимости от размеров вентилятора. Стакан крепится к бетонным или кирпичным основаниям крыши. Далее устанавливается поддон.

    Вентилятор устанавливается в стакан при помощи автомобильного или реечного крана. Монтаж крышного вентилятора и стакана проводится при помощи анкерных болтов. После того как вентилятор будет установлен, зазоры между стаканом и прибором заделываются герметиком.

    Стоимость крышного вентилятора

    Цена крышного вентилятора определяется исходя из его вида, технических характеристик, производителя и предназначения. Чем больше функциональных особенностей у прибора, тем выше его стоимость.

    Обратитесь к нам и мы проконсультируем Вас по всем вопросам касающимся вентиляции и кондиционирования.

    После завершения всех монтажных работ производится подключение вентилятора к электрической сети.

    Обзор возможностей и моделей крышных вентиляторов и особенности их монтажа

    Монтаж крышного вентилятора на кровле

    Крышный вентилятор устанавливают на кровлях жилых и общественных зданий – это современная альтернатива слуховым окнам, используемым раньше на чердаках для естественного воздухообмена.

    Принудительная кровельная вентиляция предупреждает образование конденсата, образуемого за счет накопления в подкровельном пространстве теплого воздуха, удаляет дым и скапливающееся газы.

    Производители предлагают вентиляторы разных типов, как выбрать лучший и правильно установить прибор?

    Схема работы крышного вентилятора

    Виды и классификация вентиляторов для крыш ?

    Прежде всего, нужно определиться с задачами оборудования и возможностью его подключения к электросети. Простейшие турбинные модели для устранения разницы температур и влажности не требуют подключения к розетке. Мощным приборам нужно дополнительное питание. Также без электричества не будет работать устройство, подключаемое к системе пожаробезопасности.

    Типы приборов в зависимости от назначения ?

    В продаже можно встретить кровельные вентиляторы общего назначения и специализированные:

    • жаропрочные – для дымоудаления на пожаре;
    • взрывозащищенные – для отведения взрывоопасных газов.

    Самые простейшие модели обеспечивают воздухообмен и препятствуют образованию конденсата, вызванного разницей температур. Как правило, именно такие приборы чаще всего используют в частном домостроении. Постоянная вентиляция предотвращает скапливание газов, неприятных запахов, образование плесени на чердаке или в пространстве под кровлей, если чердака нет.

    Вентиляторы для дымоудаления работают автономно и совместно с противопожарными системами.

    В случае возгорания они препятствуют скоплению дыма, выводя его за пределы здания. Это дает возможность людям эвакуироваться и сохранить жизнь, не потеряв сознание от угарного газа.

    По направлению движения воздушных потоков вентиляторы делятся на вытяжные и приточные. Приточные нагнетают воздух и создают избыточное давление, исключая задымление, а вытяжные удаляют его. Устройства можно комбинировать или выбирать универсальные приточно-втяжные модели.

    Схема вентилятора общего назначения

    Классификация по принципу работы ?

    Кровельные вентиляторы отличаются по принципу действия:

    • осевые, направляющие струи воздуха по оси вращения колеса вверх;
    • радиальные (центробежные), отбрасывающие воздух поперек оси посредством вращающейся крыльчатки;
    • диагональные, с выходом по диагонали относительно корпуса.

    Последний тип – усовершенствованная, но редко используемая конструкция осевой модификации.

    Работа радиального и осевого прибора

    Осевые вентиляторы наиболее распространены, просты в монтаже и обслуживании. Они эффективно удаляют горячие газы, агрессивные среды и дым. Недостатком устройств является низкое давление, затрудняющее вывод воздуха по каналам системы, однако достаточно мощные вентиляторы могут работать с несложными воздуховодами.

    Радиальные кровельные вентиляторы создают внутри вентиляционных каналов значительное давление, имеют высокую продуктивность. Устройства активно применяют на производствах, где необходима регулярная и качественная вентиляция – для крупных промышленных объектов и общественных зданий они просто незаменимы.

    Вентиляторы для дымоудаления на крыше промышленного здания

    Все модели вентиляторов для кровли имеют защиту от внешних атмосферных воздействий, оснащены специальной рамой для увеличения срока службы. Для изготовления используют высококачественную сталь с антикоррозийным покрытием, сплавы алюминия, латунь, титан.

    Видео: Принцип работы вытяжного крышного вентилятора ?

    Как работает кровельная вентиляция ?

    Основными элементами конструкций крышных вентиляторов являются:

    • корпус;
    • электродвигатель – однофазный или трехфазный;
    • колесо с лопатками;
    • подмоторная рама;
    • стакан монтажный;
    • поддон;
    • защитный кожух.

    Схема работы приточных и вытяжных крышных вентиляторов во время пожара

    Рабочее колесо чаще монтируется на валу электродвигателя без привода, вращается только в горизонтальной плоскости. Обратные клапаны вытяжных устройств предотвращают попадание воздуха извне в помещение.

    Осевой вентилятор включает лопасти, перемещающие воздух вдоль оси их вращения. В радиальном вентиляторе воздух входит через отверстие внутрь ротора, приобретает вращательное движение и под действием центробежной силы выбрасывается струями под прямым углом к входному потоку, а затем направляется в выходное отверстие.

    Схема работы осевого и радиального крышных вентиляторов

    Какие характеристики учитывать при выборе ?

    Проектируя систему вентиляции кровли, необходимо учитывать особенности приборов. Наиболее важные характеристики следующие:

    • целевое назначение;
    • производительность – расход воздуха, м3/ч;
    • полное давление, Па;
    • потребляемая электродвигателем мощность, кВт;
    • масса и размеры устройства;
    • уровень шума.

    Вентилятор для крыши «Титан»

    Вентиляционное оборудование для кровель на российский рынок поставляется многими зарубежными производителями, широко представлены бренды Systemair (Швеция), ROVER (Германия), KITANO (Япония), SHUFT (Дания) и другие.

    Импортные модели крышных вентиляторов отличаются качеством сборки, наличием встроенной системы регулирования работы, высоким классом защиты.

    Среди импортных моделей много достойных образцов, устанавливаемых на крыше небольших зданий и частных коттеджей.

    Отечественные заводы также выпускают крышные вентиляторы, наиболее востребована продукция заводов «Евромаш», «Тепломаш», «Титан». Российские аппараты имеют разные типоразмеры, широкий диапазон мощностей, различное функциональное назначение. В России выпускаются в основном промышленные крышные вентиляторы, стоимость которых заметно ниже, чем у импортных аналогов.

    Продукция завода Евромаш

    Особенности кровельных вентиляторов различных производителей ?

    Обилие предложений на рынке вентиляционной техники позволяет учитывать плюсы и минусы различных вариантов. Ниже приведен обзор продукции производителей – лидеров рынка продаж на примере отечественного поставщика марки «Евромаш» и зарубежного – марки Systemair.

    Продукция завода «Евромаш» ?

    Оборудование отличается высокой надежностью, долговечностью, простотой монтажа и эксплуатации.

    В линейке имеются вентиляторы осевые и радиальные, устройства вытяжной и приточной вентиляции, оборудование специального назначения. Все приборы защищены от внешних воздействий прочным металлическим корпусом.

    Для шумоизоляции предназначены монтажные стаканы со звукопоглощающим материалом на стенках и стаканы со специальными звукопоглощающими кассетами.

    Устройства используют в приточных и вытяжных системах, простота конструкции способствует надежности и долговечности.

    Характеристики осевых вентиляторов «Евромаш»

    Выпускаются заводом и радиальные аппараты с выбросом потока вверх – «ВКРВ» и в стороны – «ВКРС».

    Особой гордостью предприятия являются модернизированные устройства, выпускаемые с 2010 года, колеса в таких конструкциях имеют лопатки, сильно загнутые назад.

    Производительность аппаратов увеличивается благодаря минимальному динамическому сопротивлению, КПД устройств довольно значителен. Особенно широк ряд типоразмеров «ВКРС», это делает возможным рациональный выбор нужной конструкции.

    Характеристики радиальных вентиляторов «Евромаш»

    Крышные вентиляторы для дымоудаления «ВКРВ ДУ» и «ВКРС ДУ» используются как базовые элементы систем взрывоопасных производственных участков, аппараты призваны удалять тепло и газы из помещения при пожаре. Поставляют приборы только во взрывозащищенном корпусе. Выпускает завод и устройства для вытяжки высокотемпературных газов – модели Turbocamino.

    Вентиляторы от фирмы Systemair ?

    Многие эксперты рекомендуют приобретать модели мирового лидера по производству вентиляционных устройств Systemair.

    Крышные вентиляторы для вытяжной вентиляции DVS/DVSI/DHS/DVN/DVNI/DVC с вертикальным выпуском производят в алюминиевом корпусе, они пригодны к эксплуатации в условиях агрессивных сред – например, на морском побережье. Фирма выпускает также шумоизолированные модификации. Модели DVSI имеют малый уровень шума, потому что в корпусе устройства присутствует толстый слой минеральной ваты.

    Приточно-вытяжной агрегат Systemair

    Модели TFSR EC и TFSK EC снабжены энергоэффективным двигателем, предназначены для частных жилых домов. Экономичность, простота управления, высочайшее качество – главные преимущества линейки. Встроенная электронная система управления регулирует скорость для точного соответствия требованиям по расходу воздуха, работает с высокой эффективностью.

    Видео: Вентилятор Systemair на крыше особняка ?

    Монтаж и установка вентиляционного оборудования ?

    Установка вентиляторов на крышах имеет особенности в зависимости от типа кровли и покрытия, угла наклона крыши, вида устройства и от того, будет ли прибор работать самостоятельно или в системе с воздуховодами. Различны и варианты креплений, способ фиксации вентилирующего устройства определяется преимущественно размерами. Несмотря на разнообразие вариантов установок, общие рекомендации все же существуют.

    Устройство прибора Системмайер

    Подготовительная работа по установке ?

    Последовательность этапов работы должна быть такой:

    • проверка стакана на соответствие модели вентилятора;
    • подготовка места для крепления стакана на кровле;
    • монтаж обратного клапана на вентилятор;
    • монтаж поддона;
    • монтаж на стакан вентилятора с клапаном;
    • завершающие работы по сборке;
    • строительные работы.

    Обратные клапаны крепят непосредственно к вентилятору до его установки, транспортировочные винты перед сборкой снимают. Створки клапанов должны свободно открываться – заедания недопустимы. Клапан при креплении должен быть подвешен, ставить на него вентилятор не следует, чтобы не допустить перекоса.

    Монтажные и строительные работы ?

    Если у кровли твердое покрытие, для размещения устройства вентиляции используется основание – стакан из оцинкованной стали или железобетона, закрепляемый на крыше.

    Установленный строго вертикально стакан должен опираться на несущую конструкцию крыши, в кровле для крепления делают отверстие.

    Стакан может быть установлен на вентиляционные шахты и колодцы, если они выполнены из кирпича или бетона.

    Монтаж вентиляционных устройств на крыше

    Порядок работы:

  • Перед установкой стакана выполняют монтаж поддона, имеющего сливное отверстие с краном для отвода конденсата.
  • Тяги поддона прикрепляют к боковым стенкам стакана с помощью гаек, шайб и болтов, для которых в стенках стакана предварительно высверливают отверстия.
  • Вентилятор к стакану крепят с помощью крепежа из комплекта оборудования на шпильки, приваренные к стакану. Размер и количество шпилек указаны в приложении к паспорту устройства.
  • После сборки всех элементов конструкции зазор между верхом стакана и устанавливаемым аппаратом необходимо залить по контуру строительным герметиком.
  • Завершающим этапом установки вентилятора на крыше являются строительные работы – окончательная стяжка раствором песка и цемента, выкладка слоя теплогидроизоляции, установка по контуру стакана хомутами «юбок» и «фартуков» из оцинкованной качественной стали.
  • В случае установки вентилятора для дымоудаления с выбросом потока в стороны необходимо, чтобы кровля в радиусе двух метров вокруг стакана была выполнена из негорючих материалов.

    Установка вентилятора на скатную кровлю из металлочерепицы

    Монтаж крышного вентилятора на кровле

    На фото – вентилятор на крыше

    Вентилятор – «рабочая лошадка» вентиляционной системы. Чтобы иметь эффективную систему вентиляции, он должен быть подходящего типа и размера.

    Вентилятор должен обеспечить скорость движения воздуха, достаточную для захвата из источника загрязнения, захватить загрязнение через приемный кожух и пронести через систему воздуховодов, через устройство для очистки воздуха и вывести воздух обратно наружу.

    Центробежный вентилятор типа «Улитка»

    Имеются три вида центробежных вентиляторов, которые определяют по лопастям:

    • Вперед загнуты лопасти
    • Назад загнутые лопасти
    • Радиальные прямые лопасти.

    Примеры центробежных вентиляторов – это фен или пылесос. Они могут создать высокое давление и обычно используются в вытяжной местной вентиляции. Центробежные вентиляторы имеют прочные радиальные лезвия, что является лучшим решением для выхлопа большого количества пыли, у них меньше вероятности износиться или забиться от пыли.

    Как узнать, правильно ли выбран вентилятор?

    Выбор подходящего вентилятора должен производиться профессионалом. Чтобы определить, правильно ли он был подобран, имеются некоторые наблюдения.

    Выбор вентилятора в зависимости от проходящего через него материала:

    • Если отрабатываемый воздух содержит маленькое количество пыли и дыма, то должен быть установлен осевой или центробежный вентилятор, который имеет лопатки, загнутые назад
    • Если в воздухе содержится среднее количество пыли, влаги или дыма, то лучше всего устанавливать центробежный вентилятор, имеющий загнутые назад или прямые радиальные лопатки
    • Если пыли много, правильным выбором будет установка центробежного радиального вентилятора
    • Если в воздухе содержатся коррозионные частицы пыли, специальные конструкционные материалы или защитное покрытие – стекловолокно, нержавеющая сталь, придется, возможно, использовать в конструкции двигатель и вентилятор.

    Монтаж вентилятора на кровлю

  • Перед началом монтажа надо внимательно осмотреть вентилятор и электродвигатель.
  • Электродвигатель обязательно должен быть просушен и проверен на изоляцию.
  • Проверяется и регулируется зазор между рабочим колесом и входным патрубком.
  • Монтаж крышного вентилятора производят с кровли.

    Вентилятор крепится к специальному железобетонному стакану, устанавливается резиновая прокладка для шумоглушения. Помимо резиновой прокладки между вентилятором и станком можно установить деревянную раму для глушения шума.

  • При присоединении к центробежному крышному вентилятору вентиляционной сети первое звено воздуховода крепится к нему до его установки.

  • Дополнительно следует прикрепить к строительным конструкциям воздуховоды, чтобы их вес не передавался на вентилятор.
  • Чтобы вентилятор не занесло снегом, он должен устанавливаться так, чтобы от кровли и до выходного отверстия кромки расстояние было не меньше 600 мм, а если снега бывает много – не меньше 800-1000 мм.
  • Управление приводом вентилятора должно осуществляться из помещения. Для обслуживания и ремонта должен быть предусмотрен выключатель безопасности, расположенный вблизи вентилятора или на нем самом.
  • Если имеются несколько вентиляторов, которые обслуживают помещения, то пусковые приспособления для электродвигателей должны устанавливаться в удобном месте для их управления на щите. На кровлях применяются герметик битумный, герметик эластичный для крыш, состав ремонтный влагозащитный.

    • Герметик битумный используется с битумными материалами. Отлично герметизирует стыки вентиляторов, дымовых труб, антенн и других элементов, которые расположены на крышах. Совместим с оцинкованной сталью, битумом, нержавеющей сталью, медью, кирпичом, бетоном. Хорошо схватывается с влажной поверхностью, работать герметиком можно при любой погоде, он устойчив к атмосферным воздействиям. Наносить можно при температуре 5-35°C, термостойкий – от -35°C до +110°C.
    • Эластичный герметик для крыш. Применять можно на известняк, бетон, металл, кирпич, дерево, плиты фиброцементные. Можно использовать на влажных поверхностях, применяется для всех стыков кровельных материалов, работы производят при 5-40 °C, имеет термостойкость -25-100 °C.
    • Ремонтный влагозащитный состав применяют при ремонте крыш, построек, парников и теплиц, фундаментов. Состав на основе силикона не боится ультрафиолетовых лучей, атмосферных осадков. Работать можно с герметиком при 5-40°C, устойчив к температурам от -50°C до +150°C.

    Понравилась статья? Поделиться с друзьями:
    Все о сантехнике
    1 / 11
    2 / 11
    3 / 11
    4 / 11
    5 / 11
    6 / 11
    7 / 11
    8 / 11
    9 / 11
    10 / 11
    11 / 11