Схема устройства мясорубки и назначение ее основных рабочих органов

Рабочий орган мясорубки

Схема устройства мясорубки и назначение ее основных рабочих органов

Использование: в устройствах для измельчения в пищевой и других отраслях промышленности . Рабочий орган состоит из вала 1 и прикрепленногок нему ножа, состоящего из лезвий 2 и 3. Нож посажен своей центральной частью 4 на вал, Свободные концы ножа присоединены к валу 1 в местах 5 и 6. В таком виде нож представляет собой замкнутую одностороннюю поверхность.

Развертка ножа на плоскость выполнена в виде S-образной фигуры, образованной лезвиями ножа. Эта фигура имеет крайние точки , которые соединены в одном месте на валу с внешней стороны ножа. В центральной части ножа выполнено отверстие для посадки на вал. Выпуклые кромки лезвий ножа выполнены с заостренными кромками и по всей длине лезвий. 4 ил.

СОЮЗ СОВЕТСКИХ

СОЦИАЛИСТИЧЕСКИХ

РЕСПУБЛИК (19) (11) (s1)s В 02 С 18/16

ГОСУДАРСТВЕННЫЙ КОМИТЕТ

ПО ИЗОБРЕТЕНИЯМ И ОТКРЫТИЯМ

ПРИ ГКНТ СССР

ОПИСАНИЕ ИЗОБРЕТЕНИЯ

К АВТОРСКОМУ СВИДЕТЕЛЬСТВУ (21) 4801187/33 (22) 15,12.89 (46) 07,09.92. Бюл. ? 33 (71) Жуковский центр научно-технического творчества молодежи “Икар” и Московское авиационное производственное объединение им. П. В. Дементьева (72) Ю, А, Арутюнов, А. Т. Белобаба и Н.М.Чумаченко (56) 1, Авторское свидетельство СССР № 425626, кл. А 27 J 43/04, 1974.

2. Авторское свидетельство СССР № 1572697, кл. В 02 С 18/18, 1987.

(54) РАБОЧИЙ ОРГАН МЯСОРУБКИ (57) Использование: в устройствах для измельчения в пищевой и других отраслях проИзобретение относится к оборудованию пищевой промышленности и кухонных бытовых приборов, в частности к устройствам для измельчения веществ посредством резки, и может быть использовано для измельчения мяса, корнеплодов, овощей и фруктов.

Известен рабочий орган мясорубки, содержащий вал с расположенным на нем ножом (см. СССР а.с. ? 425626, кл. А 47 J 43/04, 1974), Известен рабочий орган для измельчения, состоящий иэ вала, на котором посажен нож (см, СССР а,с. ? 1572697, кл, В 02 С 18/18, 1987).

Недостатком известной конструкции, в которой подача мяса к ножу осуществляется шнеком, а нож с решеткой образуют режущую пару, является то, что нарезанное мясо не перемешивается, Консистенция выходного продукта не соответствует категории

“форм”, Многоперьевая конструкция ножа, мышленности, Рабочий орган состоит из вала 1 и прикрепленногок нему ножа, состоящего из лезвий 2 и 3. Нож посажен своей центральной частью 4 на вал, Свободные концы ножа присоединены к валу 1 в местах

5 и 6, В таком виде нож представляет собой замкнутую одностороннюю Поверхность.

Развертка ножа на плоскость выполнена в виде S-образной фигуры, образованной лезвиями ножа. Эта фигура имеет крайние точки, которые соединены в одном месте на валу с внешней стороны ножа.

В центральной части ножа выполнено отверстие для посадки на вал, Выпуклые кромки лезвий ножа выполнены с заостренными кромками и по всей длине лезвий, 4 ил.

необходимая для гарантированного разреза обрабатываемых кусков мяса, приводит к тому, что часть энергии расходуется на черезмерное дробление уже порезанных кусков с превращением части продукта в пасту.

Целью изобретения является повышение качества и снижение энергозатрат.

Сущность изобретения состоит в том, что нож выполнен в виде посаженной на вал своей центральной частью замкнутой поверхности, развертка которой представляет собой Я-образную ф.гуру, концы которой соединены в одном месте на валу, при этом заострение выполнено на выпуклой стороне ножа.

На фиг. 1 показана конструктивная схема рабочего органа мясорубки; на фиг. 2— развертка ножа на плоскость; на фиг, 3 — сечение

А — А на фиг, 2; на фиг. 4 — сечение Б-Б на фиг,2, Рабочий орган для измельчения (фиг. 1) состоит из вала 1, к которому прикреплены лезвия 2 и 3 ножа. Нож посажен своей сере1759470 диной, т,е.

центральной частью 4 на вал 1, Свободные концы ножа присоединены к валу 1 в местах 5 и 6.

В таком виде нож представляет собой замкнутую одностороннюю поверхность, Развертка ножа 7 (фиг, 2) на плоскость представляет собой S-образную фигуру, образованную лезвиями ножа, Эта фигура имеет крайние точки 8 и 9, которые и соединены на валу в одном месте с внешней стороны ножа 7, В центральной части ножа 7 выполнено отверстие 10 для посадки на вал, Bыпуклые кромки лезвий ножа 7 (фиг. 3, 4) выполнены с заостренными передними кромками 11 и 12. Заострение произведено на внешней стороне лезвий по отношению к валу рабочего органа.

Работает рабочий орган для измельчения следующим образом.

Помещают орган в емкость так, чтобы свободный конец его, т.е. часть 4, был внизу

его, Загружают в емкость вещество, которое необходимо измельчить. Вещество может полностью покрывать нож 7, но может быть его и меньше, до миделевой, т,е. меридиональной плоскости ножа и менее. Включают энергетическую установку органа (двигатель) и сообщают ему вращение кромками

11 и 12 вперед. Вещество будет срезать лезвиями 2 и 3 ножа 7 от вала 1 до миделевой плоскости в нижней части ножа.

По за5 гнутым поверхностям ножа 7 измельченные части будут закручены так, что уже за ножом они будут совершать циркуляцию и направление к стенкам емкости, а по ним вниз и снова на вход ножа 7 у вала 1. Т.е. сущест10 вует мощное перемешивание срезанных частиц.

Измельченные части попадают вновь на режущие кромки нижней части ножа 7 и процесс повторяется. Степень измельчения регулируется временем работы измельчите15 ля и оборотами рабочего органа.

Формула изобретения

Рабочий орган мясорубки содержащий вал, на котором установлен нож, о т л и ч аю шийся тем, что, с целью поышения

20 качества и снижения энергозатрат, нож выполнен в виде посаженной ?? вал своей центральной частью замкнутой поверхности, развертка которой представляет собой

S-образную фигуру, концы которой соеди25 нены в одном месте на валу, при этом заострения выполнены на выпуклой стороне ножа.

1759470

Составитель Т. Белобаба

Техред М.Моргентал Корректор 3. Салка

Редактор C 1(»-.- .

Производственно-издательский комбинат “Патент”, г. Ужгород, ул.Гагарина, 101

Заказ 3136 Тираж Подписное

ВНИИПИ Государственного комитета по изобретениям и открытиям при ГКНТ СССР

113035, Москва, Ж-35, Раушская наб., 4/5

   

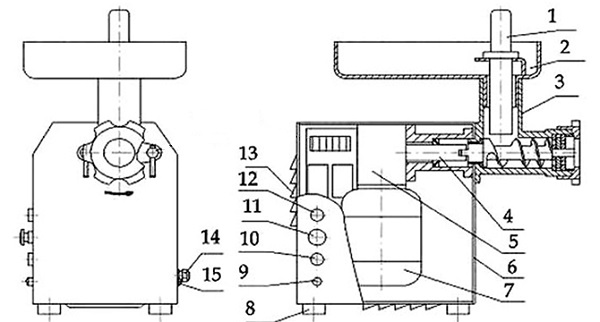
Устройство и принцип работы мясорубок

Схема устройства мясорубки и назначение ее основных рабочих органов

У всех мясорубок принципиально одинаковое устройство исполнительного механизма. В корпусе мясорубки расположена рабочая камеры 8 (рис.

1) для обработки продукта, представляющая собой неподвижный пустотельный цилиндр с ребрами 1 внутри, которые препятствуют проворачиванию продукта относительно камеры.

Расположение ребер может быть винтовым (спиралеобразным) или продольным (параллельно оси рабочего цилиндра). Принципиальное устройство мясорубки.

1 – ребра; 2 – подрезная решетка; 3,4 – ножевые решетки; 5 – упорное кольцо; 6 – зажимная гайка; 7 – ножи; 8 – рабочая камера; 9 – шнек.

Направление винтовых ребер противоположно направлению витков шнека. Обычно принимается правое направление ребер, так как рабочие шнеки для мясорубок для предприятий общественного питания изготавливаются с левым направлением витков. Угол подъема винтовых ребер различный и составляет .

Тормозящее действие ребер зависит от их числа, высоты, формы и расстояния между ними. Для продвижения продукта в рабочей камере, подачи его к ножам и проталкивания сквозь ножевые решетки служит вращающийся шнек 9 с шагом витков, уменьшающимся в сторону разгрузки.

Особенность работы шнека – создание давления, достаточного для продвижения продукта через режущий механизм без отжима содержащийся в нем жидкой фазы.

Режущий инструмент мясорубки состоит из неподвижной ножевой решетки 2, вращающихся ножей 7 и неподвижных ножевых решеток 3 и 4 с отверстиями различных диаметров. Неподвижная ножевая решетка (рис. 2 а) состоит из внутреннего и наружного колец, соединенных тремя перемычками, заточенными с одной стороны. Режущая кромка перемычек расположена под острым углом к радиусу вращения продукта.

Вращающиеся ножи имеют радиальные лезвия с двумя режущими плоскостями (вращающиеся двухсторонние ножи). Ножи объединены в отдельные крестовины, каждая из которых имеет по четыре луча. Неподвижные ножевые решетки выполнены в виде дисков с круглыми отверстиями и являются парными режущими деталями с вращающимися ножами.

В мясорубках, используемых не предприятиях общественного питания, режущий инструмент комплектуется, как правило, тремя ножевыми решетками с отверстиями диаметрами 3, 5 и 9 мм. Оси отверстий ножевых решеток перпендикулярны плоскости ножевой решетки (прямые отверстия).

Ножи и решетки надеваются на стальной палец с параллельными лысками, ввинченный в передний торец шнека. Центральное отверстие ножа имеет туже форму, что и наружный контур пальца шнека, благодаря чему вращение шнека передается ножу.

Решетки надеваются на палец шнека свободно и удерживаются от проворачивания шпонкой, жестко закрепленной в корпусе мясорубки. Плотное прилегание рабочих плоскостей ножей и решеток обеспечивается упорным кольцом 5 (рис. 1) и хажимной гайкой 6.

Корпус мясорубки имеет специальное устройство, обеспечивающее его соединение с индивидуальным приводом или корпусом универсальной кухонной машины.

Мясорубки комплектуются основным набором режущих инструментов для получения котлетной массы и набором режущих инструментов для крупной рубки.

В основной набор входят подрезная решетка, два двухсторонних ножа, две ножевые решетки с отверстиями диаметрами 9 и 3 или 9 и 5 мм и упорное кольцо.

В набор для крупной рубки входят подрезная решетка, один двухсторонний нож, ножевая решетка с отверстиями диаметром 9мм и два упорных кольца

Электрические мясорубки. Виды и работа. Устройство

Схема устройства мясорубки и назначение ее основных рабочих органов

Любители приготовления домашней пищи часто задумываются о правильном выборе электрической мясорубки, так как питаться магазинными полуфабрикатами уже не хочется, а иногда и вредно для здоровья. Электрические мясорубки являются устройствами, способными измельчать мясо.

Они обычно применяются для изготовления мясных блюд, колбас и фарша. К чугунным ручным мясорубкам, устройство которых за долгое время не изменилось, все привыкли.

А такие устройства, как электрические мясорубки, для многих людей не очень знакомы, так как они появились в быту сравнительно недавно.

Электромясорубка имеет более сложное устройство, по сравнению с механической, но функции ее остались аналогичными. Такие устройства делают нашу жизнь в быту значительно легче.

Если ручной мясорубкой можно накрутить такое количество мяса, сколько сможет хозяйка, то с помощью современной электрической мясорубки можно переработать до трех килограммов мяса за одну минуту. Для перекрутки подходит любой вид мяса: говядина, свинина, курица и т.д.

От хозяйки требуется только подавать в верхнюю воронку кусочки мяса, а все остальное мясорубка выполнит сама.

Как устроены электрические мясорубки

В отличие от ручных механических, электрические мясорубки внешне более привлекательны и имеют значительно больше функций. Они просты в применении, не требуют для работы больших физических усилий.

Стоимость таких устройств зависит от производителя, мощности и количества вспомогательных функций.

С помощью такой электрической мясорубки кроме мясного фарша можно приготовить сок, лапшу, тесто для печенья, а также нашинковать фрукты и овощи, применяя прилагаемые в комплекте насадки.

Устройство электрической мясорубки довольно простое, и отличается от обычной ручной мясорубки только наличием электрического привода и несколькими функциональными насадками.

В состав электромясорубки входит:

  • Электрический механизм приводит в действие мясорубку.
  • Корпус рабочего механизма, изготавливается из чугуна, нержавеющей стали или алюминиевых сплавов.
  • Приемник в виде лотка для закладки мяса.
  • Шнек, подает кусочки мяса для измельчения.
  • Нож, имеющий обычно четыре режущие лопасти. Существуют также двухлопастные ножи.
  • Решетка выполнена в виде стального диска с отверстиями для выхода мяса. Ее также называют матрицей.
  • Гайка прижимная, фиксирует внутренние части устройства.

Принцип работы

Сверху в приемный лоток закладывается заблаговременно нарезанное кусками мясо. Попадая на витки шнека, мясо перемещается к ножу, который насажен на передний торец шнека. Задняя часть шнека (хвостовик) соединена с электрическим приводом.

Нож вращается вместе со шнеком, плотно прилегая к решетке, которая закреплена неподвижно. За счет этого мясо режется ножом, измельчается и проталкивается с помощью шнека через отверстия решетки. Дополнительное давление для проталкивания мяса создается подачей следующих порций мяса.

В электрическом приводе двигатель находится внутри корпуса, и запускается с помощью кнопки. Снизу корпуса имеются резиновые ножки, использование которых позволяет:

  • Уменьшить вибрационные нагрузки во время работы электромясорубки.
  • Снизить уровень электростатического заряда корпуса устройства.
  • Предотвратить смещение или скольжение мясорубки при работе.

Виды электрических мясорубок

В торговой сети по продаже бытовой техники представлено множество видов электрических мясорубок, отличающихся между собой по размерам, стоимости, функциональности и другим признакам. Рассмотрим некоторые основные виды электромясорубок, чтобы иметь представление о них, и сделать правильный выбор качественного и надежного изделия.

По принципу переработки мяса:

  • Шнековые. В таких конструкциях мясо измельчается ножом, и перемещается к нему путем вращения шнека.
  • Куттерные. Такие устройства в домашнем хозяйстве используются редко, они обычно входят в состав миксера или кухонного комбайна. Мясо в них перемалывается в специальной емкости ножами, вращающимися с большой скоростью, по аналогии с принципом действия блендера. При этом мясо сильно взбивается и насыщается воздухом. В результате фарш получается в виде пасты, что многим людям не нравится. Такие мясорубки чаще всего приобретают любители перемолотых вареных продуктов, либо готовят диетическую пищу или детское питание.

По функциональности:

  • Традиционные электрические мясорубки предназначены только для перемалывания мяса. В них нет никаких вспомогательных функций. Такие мясорубки могут переработать большой объем мяса за короткое время. По функциональности они аналогичны ручным механическим мясорубкам.
  • Универсальные электрические мясорубки имеют в комплекте всевозможные насадки: для макарон, перетирание и нарезка овощей, выжимание сока и т.д. Ввиду их большой функциональности, мощность их невелика.
  • Кухонные комбайны являются мечтой многих хозяек. Они перемалывают продукты в виде пюре, что для многих блюд не совсем подходит. Такие конструкции имеют незначительную мощность и обладают небольшой производительностью. Их слабые ножи не всегда справляются с жесткими сортами мяса, поэтому для переработки мяса лучше использовать традиционные виды мясорубок.

Электрические мясорубки разделяют на три класса по производительности:

  • «А» — высшего класса и высокой производительности. Основной их задачей является измельчение мяса разных сортов для приготовления фарша.
  • «В» — в этот класс входят бытовые многофункциональные мясорубки средней производительности с набором дополнительных ножей, терок и различных насадок.
  • «С» — простые бытовые, обладающие минимальной мощностью, без дополнительных функций и режимов.

Параметры электрических мясорубок

При выборе бытовых устройств, в том числе и электрических мясорубок, следует учитывать их технические параметры, основные из которых рассмотрим подробнее.

Мощность

Для многих электрических устройств этот параметр является основным критерием выбора. Чем выше мощность устройства, тем больше его производительность.

Существуют модели мясорубок мощностью от 0,4 до 2,2 киловатт. Очень редко можно найти модель мощностью 3 кВт.

Большая мощность обеспечивает качественное измельчение мяса, не допуская забивание ножей мясными жилами, трудными для перемалывания.

  • Маломощные мясорубки до 0,8 киловатт могут справиться с нежестким мясом без жил. Они подходят также для рыбы и овощей, имеют небольшую стоимость. Если мясо нарезать на мелкие кусочки, то производительность устройства значительно возрастет.
  • Мясорубки мощностью не более 1,4 кВт могут справиться с любым видом мяса, в итоге получается фарш отличного качества.
  • Мощные электрические мясорубки выше 1,5 киловатт могут быстро переработать большой объем мяса. Стоимость таких изделий довольно высока. Соответственно мощности такие мясорубки расходуют много электроэнергии, а также обладают повышенной шумностью работы, в отличие от маломощных конструкций. Поэтому для домашнего использования их практически не приобретают.

Материалы

Важным параметром для выбора устройства являются материалы изготовления его элементов. Лоток и корпус должны быть выполнены из пищевой пластмассы, а остальные элементы должны быть из металла. Толкатель должен изготавливаться из пищевого пластика.

Наиболее важной деталью является шнек, который имеет форму спирали, с креплениями для ножа и насадок. Шнек должен изготавливаться из прочной нержавеющей стали, так же как и ножи, которые не нуждаются в частой заточке.

Электродвигатель и шумность работы

Многие производители снабжают свои изделия специальной системой блокировки, останавливающей электродвигатель в случае возникновения большой нагрузки, не позволяя ему выйти из строя от перегрева.

Уровень шума электрической мясорубки зависит от мощности, чем больше мощность, тем больше шума она создает во время работы. Существуют модели значительной мощности, но с малым уровнем шума.

При выборе устройства целесообразно обратить на это внимание и попросить продавца включить несколько видов изделий, чтобы понять, сколько шума будет при переработке мяса в квартире. К тому же, вы ознакомитесь с правильностью ее запуска.

Следует также знать, что электрические мясорубки работают значительно громче, по сравнению с кухонным комбайном.

Решетки

Оптимальным выбором будет электрическая мясорубка с набором сменных решеток, отличающихся между собой диаметром отверстий для получения мелкого, среднего и крупного фарша. Толщина решетки также может отличаться, слишком тонкая решетка может отрицательно повлиять на качество фарша.

Ножи

Основным рабочим элементом являются ножи, которые могут иметь разное количество кромок. В комплекте может иметься два ножа. Они обычно изготавливаются из прочной нержавеющей стали, однако также требуют периодической заточки. Некоторые дорогостоящие электрические мясорубки оснащены самозатачивающимися ножами. Они не тупятся даже после длительной работы.

Насадки

Эти элементы повышают функциональность мясорубки. С помощью насадок можно резать и шинковать овощи на кусочки разных размеров.

Бывают насадки для приготовления сарделек и колбас, они выполнены в виде металлического конуса.

Если снять нож, и решетку, а установить специальный диск, то можно изготавливать макаронные изделия и лапшу. Существует даже насадка, с помощью которой можно колоть лед.

Дополнительные функции

  • Защита двигателя от перегрузки устанавливается на многих видах мясорубок. При повышенной нагрузке больше допустимой величины, электродвигатель автоматически отключается. В зубчатых передачах часто установлены пластиковые втулки, которые при больших нагрузках ломаются. Существуют также тепловые реле, обесточивающие все устройство при его нагревании до температуры, выше установленной нормы.
  • Реверс. Эта функция обеспечивает движение шнека в обратном направлении. Часто бывает, что на шнек наматывается много жил, и дальнейшая работа становится невозможной. При этом включают реверс и свободно очищают шнек для продолжения нормальной работы.

Похожие темы:

Мясорубки и волчки – статья: как выбрать, советы по эксплуатация

Схема устройства мясорубки и назначение ее основных рабочих органов

          Основной машиной в технологических линиях по производству фарша, полуфабрикатов из котлетной массы и колбасных изделий является мясорубка или её более мощная модификация - волчок.

          Ассортимент предлагаемых в настоящее время на рынке промышленных мясорубок и волчков огромен и представлен следующими зарубежными производителями: KT (Финляндия), Fama (Италия), Hurakan (Китай), Fimar (Италия), Gastrorag (Китай), Sirman (Италия), Apach (Китай), Koncar (Хорватия), LaMinevra (Италия) , Gastrotop (Китай), JEJU (Тайвань), Hakka (Китай), Feuma (Италия), MADO (Германия), KS (Германия), «K+G» (Германия), Seydelmann (Германия), Kolbe (Германия), Kilia (Гемания), Laska (Австрия) и др.

          Среди отечественных производителей такие заводы, как:  Торгмаш (Барановичи), Торгмаш (Пермь), ТоргТехМаш (Барановичи), Abat (Чебоксары), Марихолодмаш, ОАО «ПОМЗ» (Пильна), Павловский ОМЗ, НПО «Два+К» (Воронеж), ПОЛТАВАМАШ, ТВС-Механика (Москва) и др.

         Модельный ряд отдельно взятого завода, как правило, насчитывает несколько моделей различающихся по производительности, комплектации и опциям. Поэтому покупатели оказываются в затруднительном положении при выборе той или иной модели промышленной электрической мясорубки, оптимальным образом подходящей, для их пищевого производства или предприятия общественного питания.

          В данной статье будут рассмотрены основные критерии, характеристики и дополнительные опции,  зная которые, можно будет определиться с выбором мясорубки или волчка, а также даны советы, как правильно выбрать промышленную мясорубку.

Все мясорубки и волчки отечественного и импортного производства имеют принципиально одинаковое устройство: мясо захватывается шнеком и через корпус с внутренними ребрами, которые препятствуют проворачиванию сырья, подается к режущему инструменту (ножам и решеткам), где продукт проталкивается и измельчается за счет создаваемого давления вращающимся шнеком и ножами.

Чем отличается мясорубка от волчка?

         Основное отличие мясорубки от волчка - это способ подачи мясного сырья: в мясорубках сырье загружается периодически небольшими партиями в загрузочную чашу оператором и затем вручную проталкивается толкателем, а волчки имеют большой загрузочный бункер, куда сразу закладывается несколько десятков килограмм сырья и подача в зону измельчения осуществляется за счет собственного веса продукта - автоматически. Конструкция волчков при этом позволяет измельчать куски мяса более крупных размеров до 1 кг.

         Производительность для промышленных мясорубок составляет от 40 до 600 кг/ч, для волчков - от 600 кг/ч до 5000 кг/час и выше.

         Преимущественно все мясорубки и волчки предназначены для измельчения охлажденного сырья без включений и крупных сухожилий, но среди волчков можно встретить модели и для замороженного мяса.

Как выбрать мясорубку или волчок?

         Прежде всего, нужно обратит внимание на производительность оборудования: мясорубку/волчок следует выбирать в соответствии с Вашими технологическими потребностями, не стоит, в попытке сэкономить, приобретать оборудование, которое может не справиться с нагрузкой.

         Мясорубки используются в основном на предприятиях общественно питания (рестораны, кафе, столовые), мясных лавках, небольших производственных цехах. На предприятиях, выпускающих пельмени, котлеты, колбасные изделия в больших объемах (от 1 т/смену) для приготовления фарша целесообразно использовать волчки.

         Производительность в основном зависит от наружного диаметра установленных решеток и, соответственно, диаметра отверстий в решетках, а степень измельчения фарша от системы режущего механизма (энтерпрайс, полуунгер или унгер). Что такое энтерпрайс, полуунгер и унгер будет более подробно рассмотрено ниже.

         Чем больше диаметр решеток и диаметр отверстий в них, тем выше производительность.

Например, если взять две мясорубки одной модели и установить на одну мясорубку решетку на выходе с диаметром отверстий 3 мм, а на вторую 9 мм, то при прочих равных условиях производительность будет отличаться в 3 раза.

Важно понимать, что производители мясорубок указывают максимальную производительность, которую возможно достичь только при непрерывной работе оборудования, при этом использовать при работе решетки с максимальным диаметром отверстий и жилованное мясо, что на практике не осуществимо. При выборе мясорубки или волчка надо реально оценивать ее производительность, т.е. чтобы понять, сколько будет получаться фарша, надо производительность, указанную в паспорте умножать на коэффициент 0,6-0,7. 

        Минимальный наружный диаметр решеток, которые применяются в промышленных мясорубках, составляет 60 мм и, как правило, не превышает 105 мм, в волчках наружный диаметр решеток от 98 до 200 мм. Диаметр отверстий в решетках при этом может быть от 2 до 30 мм.

       Зависимость производительности от наружного диаметра решеток можно посмотреть в таблице №1

Наружный диаметр решеток, мм Производительность, кг/ч Наиболее распространенные модели мясорубок/волчков 60 До 80 кг/ч Мясорубки М-75 (УКМ-10), МИМ-80, М-50С 70 (тип «12») До 120 кг/ч Все модели мясорубок, где в маркировке присутствуют цафра «12», например HY-12, ММ-12, TJ-12, HM-12, 12/TC, 12/T, TC-12, HKN-12, ATS-12 и т.д. 82 До 200-300 кг/ч Мясорубки МИМ-300, МИМ-300М, МИМ-350, ТМ-32, ТМ-32М, М-250 (УКМ-12), МП-300, МЭП-300, LM-82 83 (тип «22») До 300 кг/ч Все модели импортных мясорубок, где в маркировке присутствуют цифры «22», например, ММ-22, HKN-22, TS-22 и т.д. 98 До 500 кг/ч LM-98, MEW-620, MEW-621 100 (тип «32») До 500 кг/ч Все модели импортных мясорубок, где в маркировке присутствуют цифры «32», например, ММ-32, HKN-32, TS-32 и т.д. 105 До 800 кг/ч Мясорубки МИМ-600, МИМ-600М, М-600, М-105; волчок В2-105 114 До 1000 кг/ч Волчки В2-114, ЛПК-1000, К7-ФВП-114 120 До 1200 кг/ч Волчки O—ФК-120, JR-120, 221 ФВ-012 125 До 1500 кг/ч Волчки ВРД-125А, ВРД-125М, КПКМ-МВУ-125 130 ДО 1600 кг/ч LM-130, MEW-735 160 До 5000 кг/ч Волчки типа К7-ФВП, «Зейдельман», «KS», «Mado» и др. 200 До 12000 кг/ч Волчки «Зейдельман»,  «Кремер-Гребе», «KS» и др.

Что выбрать: энтерпрайз, полуунгер или унгер?

         Существует три системы режущего механизма, применяемых на мясорубках и волчках:

  • Энтерпрайс - это классический набор из одностороннего ножа и решетки, знакомый всем по конструкции домашней мясорубки. Данный комплект качественно выполняет простую резку сырья и подходит для столовой, кафе, для магазина или мясного отдела с небольшими объемами работы, по цене это самый экономный вариант.
  • Полуунгер обеспечивает более качественное измельчение сырья, так как состоит из подрезной (приемной) решетки, двустороннего ножа и решетки. Мясорубка такой комплектации может использоваться для ресторана или любого другого небольшого пищевого производства.
  • Унгер - это многофункциональный набор ножей и решеток, состоящий из подрезной (приемной) решетки, двух двусторонних ножей и двух решеток позволяющий всего за один проход получить качественный гомогенный фарш. При необходимости можно установить только один комплект из ножей и решетки, превратив тем самым «унгер» в «полуунгер». Машины этого типа подходят для любых пищевых производств высокой производительности, а также для магазинов продающих фарш, купаты.
  •          По существующим сегодня нормам, любое мясо для получения фарша необходимо перерабатывать дважды. Если на кухне используется система полуунгера или классический вариант мясорубки, то процесс переработки мяса усложняется, т.к.

    для получения качественно фарша мясо нужно пропускать через мясорубку дважды.

    При использовании полного унгера время переработки мяса сокращается ровно вдвое, вследствие того, что за один проход осуществляется сразу двойное измельчение, поэтому выбор мясорубки или волчка с системой унгер предпочтительнее.

              Далеко не во всех производственных помещениях имеется напряжение 380В, это в свою очередь может существенно повлиять на выбор мясорубки, т.к.

    в основном все модели профессиональных мясорубок и волчков рассчитаны на напряжение 380В.

    Если в помещении имеется напряжение только 220В, то ассортимент мясорубок, которые можно выбрать значительно сокращается, и выбрать можно будет только из нескольких моделей мощностью не более 1,5 кВт и производительностью до 200 кг/час.

             При выборе мясорубки следует также учитывать, мощность двигателя, качество исполнения, надежность и вид материалов, из которых она изготовлена.

    Износостойкость рабочих органов (шнек, ножи, решетки, горловина) должна быть высокой, немаловажна возможность легкой и быстрой замены изношенных деталей, особенно исполнительных рабочих органов, а также наличие и стоимость запасных частей и расходных материалов к ней.

    В импортных моделях мясорубок все узлы, включая корпус, шнек, ножи и решетки, как правило, выполняются из износоустойчивой нержавеющей стали, у более доступных в ценовом плане отечественных аналогов нередко используются недорогие материалы. Решетки и ножи могут изготавливаться из чугуна или черной стали, а корпус и шнек — из алюминиевого сплава.

             Следует обратить внимание на наличии дополнительных функций и опций, например, наличие реверса, пусковой педали, возможность установки  устройства для механической жиловки мяса.

             При помощи «Реверса» можно вернуть продукт в загрузочную горловину и затем отправить его на повторную переработку или удалить из мясорубки без разбора узла: ножи-решётки-шнек.

             Устройство для механической жиловки мяса предназначено для повышения качества фарша, увеличения выхода готового продукта посредством отвода из мясного сырья мелких косточек, сухожилий и хрящей.

    Это достигается за счет использования специальных ножей и решеток с  отводящим валом и регулировочной втулкой. Это устройство позволяет при использовании некачественного сырья, получать фарш хорошего качества.

    Данное устройство, возможно, использовать на волчках с диаметром решеток от 114 мм.

             Пусковая педаль незаменима при производстве на мясорубках/волчках колбасок или купат, а также при использовании ручного дозатора фарша, когда у оператора заняты руки.

             К расходным материалам, которые требует частой замены можно отнести ножи и решетки. При покупке мясорубки всегда желательно приобрести как минимум один запасной комплект ножей и решеток, т.к.

    в процессе эксплуатации очень часто в зону измельчания могут попадать кости или прочие посторонние предметы, что может привести к поломке даже новых ножей и решеток.

    Кроме того, рекомендуется не реже чем один раз в неделю производить заточку и полировку ножей и решеток, что занимает обычно некоторое время и чтобы оборудование не простаивало, как правило, на мясорубку устанавливается запасной комплект.

    Если своевременно не производить заточку режущего инструмента, то это будет сказываться на качестве фарша: мясо перестанет резаться (рубится), а начнет мяться, излишне нагреваться, при этом снижается производительность, могут наматываться жилы на вал шнека.

             При длительной эксплуатации мясорубок или волчков, также могут потребоваться толкатель, шнек, зажимная гайка, горловина (корпус мясорубки), детали редуктора (шестерни, вали, подшипники, сальники) и т.д. – все эти запчасти для мясорубок и волчков можно заказать и приобрести в компании «Мясные Технологии» в интернет магазине www.mt-torg.ru или обратиться к специалистам компании по тел (383) 325-06-30.

    Рекомендации по эксплуатации мясорубок

    • Необходимо следить за качеством заточки ножей и решеток, своевременно производить  заточку ножей и шлифовку (полировку) решеток. Нужно затачивать комплект полностью, а не только ножи, т.к. в процессе эксплуатации на решетках появляются борозды и неровности, и при замене только ножей не будет плотного прилегания их к решеткам, что будет влиять на качество получаемого фарша.
    • После эксплуатации ножи и решетки необходимо тщательно промыть с использованием дезинфицирующих моющих средств, просушить и смазать тонким слоем пищевого жира, особенно это актуально для ножей и решеток отечественного производства.
    • Ножи и решетки не должны работать на холостом ходу.
    • Следует регулярно проверять уровень и чистоту масла в редукторе, натяжение приводных ремней, если имеются. Иначе увеличивается риск износа шестерней редуктора, что в итоге может привести к выходу мясорубки из строя.
    •  Ни одна, даже самая мощная и современная мясорубка не рассчитана на беспрерывную работу в течение нескольких часов подряд, поскольку двигатель перегревается и выходит из строя.
    • Важно правильно затянуть фиксирующую гайку горловины. Главная рекомендация: затяните гайку до упора, а затем отпустите ее на 1/4 оборота, произведите запуск мясорубки и при появлении фарша можно снова затянуть гайку до упора. Это необходимо для того, чтобы при запуске мясорубки /волчка не происходила поломка и износ режущего инструменты  ножей в результате сильного трения.
    • Нужно следить за степенью износа, как режущего инструмента, так и корпуса со шнеком. При увеличении зазора между корпусом и шнеком скорость подачи сырья резко падает за счет его перепускания.
    • Со временем толщина ножей и решеток уменьшается и в определенные момент может достичь критического значения, в результате нож или решетка могут сломаться и повредить шнек или корпус мясорубки, что потребует дополнительных затрат на ремонт оборудования. Кроме того, тонкий нож может провернуться на пальце шнека, что потребует его замену.

    Мясорубка. Механическая мясорубка. Электрическая мясорубка

    Схема устройства мясорубки и назначение ее основных рабочих органов

    Для  приготовления  фарша,  первым механическим приспособлением  стал полукруглый нож с двумя ручками.

    Механическая мясорубка 19 век.

    Механическая мясорубка появилась в начале 19 века, изобретение мясорубки приписывают Карлу фон Дрезу (изобретателю первого велосипеда без педалей).

    Кроме измельчения мяса, мясорубка может использоваться для измельчения других видов продуктов, а так же мясорубку можно использовать для приготовления печенья, спагетти, лапши а так же сока из фруктов и овощей.

     

    В конце 19 века шнековые механические мясорубки выпускаются уже серийно, устройство и конструкция механической мясорубки не претерпело значительных изменений до наших дней.

    Электрические мясорубки появились в начале 20 века, они имели большие габариты и вес, поэтому в быту не применялись.  Модели имеющие меньший вес и габариты стали  производить в 40-х годах двадцатого века.
                                         -Механическая мясорубка.
                                         -Электрическая мясорубка.

    Механическая  мясорубка:  

    Может    изготавливаться   из  алюминиевого или стального сплавов,  в современных моделях корпус может быть из пластика. В корпусе мясорубки размещается шнековый вал  и  решётка к которой примыкает нож.

     Шнек

    Решётки могут иметь отверстия разных размеров, от размеров отверстия зависит глубина переработки фарша. Ножи могут быть разного вида но чаще всего обычный четырёх  лопастной нож. Механическая мясорубка проста в эксплуатации, легко разбирается что бы помыть детали.

    В электрической мясорубке  вращение шнека осуществляет электродвигатель.

    Устройство электрической мясорубки.

    Устройство электрической мясорубки.

    1 Толкатель 2 – Загрузочный лоток

    3Шнек

    4 – Приводной вал 5 – Редуктор 6 – Корпус 7 – Электродвигатель 8 – Ножка амортизатор 9 – Индикатор Вкл (Выкл) 10 – Кнопка “Реверс” 11 – Кнопка “Стоп” 12 – Кнопка “Пуск” Вес электрической мясорубки до 8,5  килограммов, вес мясорубки зависит  от материала из которого изготовлена мясорубка.

    Корпус мясорубки может быть выполнен полностью из пластика, из пластика с металлическими вставками, или полностью из металла.

    Загрузочное отверстие (лоток) изготавливают из металла, реже из пластика так как больше подвержен механическим повреждениям.

    Важной составляющей электрической мясорубки является мощность мясорубки (электродвигателя).

    Мощность мясорубки от 100 до 1200 Ватт.

    Мясорубки с номинальной  мощностью  400  –  500 Вт  оптимальный вариант для бытовых мясорубок, такие модели универсальны и относительно не дороги.

    Номинальный  режим  это работа  электродвигателя в обычном режиме без перегрузок, при переработке хрящей и попадании мелких косточек электродвигатель работает на предельной мощности. На предельной мощности мясорубка может работать кратковременно, при отсутствии надёжной защиты электродвигатель может сгореть.

    Большинство моделей мясорубок  оснащены механической защитой в виде пластиковой втулки, которая ломается при попадании твёрдых предметов между ножом и решёткой, шнек при этом перестаёт двигаться а электродвигатель предохраняется от сгорания.

    Так же в мясорубках для защиты электродвигателя может применяться  автоматический прерыватель цепи, состоящий из двух пластин в замкнутом состоянии,  при  чрезмерном  токе, пластины размыкаются,  электродвигатель прекращает работать.

    При остановке двигателя пластины возвращаются в исходное (замкнутое) состояние, мясорубка готова к работе. Для защиты двигателя может применяться тепловое реле, срабатывающее на повышение температуры двигателя при перегрузке.

    Электрическая  мясорубка   может  иметь реверсивный режим, при котором шнек имеет возможность вращаться в обратном направлении.

    Мясорубка с  насадками.

    Реверсивный режим позволяет легко избавиться от засорений затрудняющих работу (жилы, хрящи), не разбирая мясорубку. Для этого включается режим обратной прокрутки (реверс), продукты затрудняющие работу мясорубки выталкнутся в загрузочное отверстие. Мясорубки большой мощности реверсивного режима как правило не имеют, так как способны перерабатывать жилы и хрящи.

    Производительность мясорубки.

    Под производительностью понимают количество переработанного мяса в килограммах за одну минуту,  современные мясорубки перерабатывают от 0,8 до 3 кг а минуту.

    Важно учесть что производительность мясорубки не зависит на прямую от мощности мясорубки,  менее мощная модель может перерабатывать такое же или большее (меньшее) количество продуктов в зависимости от модели.

    При использовании мясорубки небольшой мощности важно избегать больших нагрузок, для этого желательно нарезать продукты переработки небольшими кусками.

    Мясорубки обычно имеют в комплекте несколько решёток с отверстиями разного диаметра:

    Решётки мясорубки.

    -мелкие отверстия     3 – 3,5 мм -средние отверстия   4 – 6 мм -крупные отверстия  6 – 8 мм

    Кроме того большинство моделей оснащены дополнительными насадками и способны выполнять большинство функций кухонного комбайна (см).

    -насадка для теста благодаря фигурным отверстиям позволяет получать готовые для выпечки заготовки. -моделирующая насадка разделяет фарш на равные части. -шинковка (овощерезка) от 1 до 4 в комплекте,  позволяет нарезать или нашинковать овощи равными ломтиками, вставляется вместо шнека в корпус мясорубки.

    Мясорубка с дополнительными насадками.

    -соковыжималка(см) для получения сока. -тёрка представляет собой цилиндр с отверстиями, может комплектоваться несколькими тёрками от 1 до 4 с отверстиями разного диаметра. -насадка для изготовления колбас от 1 до 6 в комплекте, к горловине подсоединяют оболочку и контролируют заполнение. -насадка для кеббе, имеет вид трубочек которые фаршируются с помощью этой насадки. -форма для фарша, для изготовления ровных котлет одинаковой величины.

    Промышленная электрическая мясорубка: производство фарша разного уровня измельчения

    Схема устройства мясорубки и назначение ее основных рабочих органов

    Блюда из фарша всегда были популярны в заведениях общепита. И в самом деле, ни одно меню столовой не обходится без котлет, зразов, биточков, голубцов! А чтобы приготовить их в нужном количестве требуется немало фарша. И тут на помощь приходит электромясорубка – незаменимое кухонное оборудование.

    Сейчас уже трудно представить себе повара, который с энтузиазмом крутит ручку механической мясорубки на кухне ресторана, где фарш используется не только в привычных котлетах, но и в блюдах кухонь многих народов мира.

    Электрическая мясорубка на кухне общепита

    Промышленные мясорубки на кухнях общепита появились в 50-е годы прошлого столетия. Это один из видов оборудования для переработки мяса. Обладая мощным двигателем, такие мясорубки обрабатывают до 100 кг мяса за час.

    Детали этого профессионального оборудования выполнены из чугуна или стали, из-за этого они много весят, и на профессиональных кухнях их устанавливают стационарно на одном месте. Чугун не изнашивается, и поэтому прибор имеет большой срок эксплуатации. К тому же такие детали дают возможность машине работать долгое время без перерыва.

    У этих мясорубок несколько ножей, которые служат для производства фарша разного уровня измельчения. Приборы имеют несъемные предохранители, они исключают получение травм оператором.

    У мясорубок имеются и дополнительные функции:

    • просеивание муки;
    • рыхление муки и теста;
    • измельчение и нарезка овощей;
    • насадки для выжимания сока;
    • насадки для изготовления купатов;
    • насадка реверс для совсем тонкого помола, предназначенного для сосисок и колбасок;
    • насадка для изготовления пасты из томатов;
    • ломтерезка;
    • сыротерка.

    Некоторые производители оснащают мясорубки двумя ручками для удобства переноски.

    Основные виды

    Стандартная мясорубка предназначена для переработки сырого мяса, рыбы в разную степень измельчения. Это их единственная основная функция. К такой мясорубке присоединяются насадкидля разнообразных дополнительных функций.

    Мясорубка-волчок способна перерабатывать в фарш замороженное мясо, в ходе такой переработки продукция остается свежей, не деформируются белковые соединения, не нарушаются мясные волокна.

    Принцип работы этого оборудования достаточно прост: в загрузочное устройство укладывают мясо, которое проходит через ножи, где происходит его первичное измельчение, потом масса продавливается шнеком через специальную матрицу, и приобретает нужную консистенцию. В таком волчке шнеков может быть несколько, что ускоряет процесс переработки. Волчки отличаются от обычных мясорубок и внешне. У них полностью закрытый корпус, имеющий форму прямоугольника.

    По способу размещения мясорубки бывают двух видов:

  • первые устанавливаются на пол, имеют специальные ножки, которые входят в комплект; эти приборы тяжелые, имеют мощный двигатель, перерабатывают большой объем сырого мяса;
  • вторые имеют более низкую мощность, а следовательно, меньший вес, устанавливаются на столы или подставки.
  • Мясорубки классифицируются и по виду ножей, установленных в них:

    • энтерпрайс — традиционный набор ножей: решетка, шнек и односторонний нож, то же самое, что и в домашней мясорубке; мясорубки с таким комплектом приобретают для небольших кафе и столовых;
    • полуунгер — в таком варианте кроме шнеков и решеток имеется двусторонний нож и нож подрезной; такие мясорубки бывают в ресторанах или других крупных учреждения общепита;
    • унгер — здесь имеются две решетки, два двусторонних ножа, два подрезных, обычно имеющих форму трилистника; этот прибор покупают для специализированных заведений, в которых готовят постоянно фарш для купатов, колбасок и колбас.

    Производитель указывает тип комплекта на упаковке мясорубки.

    Как правильно выбрать промышленную мясорубку

    При покупке такого оборудования необходимо учесть несколько условий:

    • все детали, которые соприкасаются с продукцией, должны быть выполнены из пищевой стали;
    • такие детали должны легко сниматься;
    • хорошая мясорубка должна иметь функцию «реверс», которая будет препятствовать наматыванию на шнек жилы;
    • диаметр решетки: от него зависит качество конечного продукта и его вкус;
    • важно количество ножей — чем их больше, тем выше скорость обработки мяса и лучше качество;
    • должно быть устройство, защищающее мотор от перегрева;
    • стоит продумать и необходимую комплектацию;
    • следует учесть то, что компании, указывая производительность, завышают её почти в два раза;
    • если нужна бесшумная мясорубка, то стоит обратить внимание на редуктор с масляной ванной.

    Обзор популярных моделей

    «Мэп 300»

    Компания «Чувашторгтехника» Россия.

    Технические характеристики:

    • материал: пищевая сталь;
    • реверс: есть;
    • мощность: 1,9 кВт;
    • напряжение: 400 В;
    • диаметр решеток: 82 мм;
    • производительность: 300 кг/ч;
    • диаметр загрузочной горловины: 40 мм;
    • габариты: 690х420х450 мм;
    • вес: 51,5 кг.

    Цена: 46 000 рублей.

    Отзыв: Иван Сергеевич, владелец придорожного кафе «Трасса», Краснодарский край:

    • У нас в кафе блюда из фарша — основное. Водителям нужно поесть сытно и недорого. Поэтому готовим котлеты и биточки, сейчас добавили в меню пельмени, а для всего такого надо фарша много намолоть. Уже который год выручает электромясорубка, марка «Мэп-300», когда покупал, не задумывался о производительности или дополнительных опциях. Но купил и не разочаровался.

    «Мэп 150»

    Компания «Чувашторгтехника» Россия.

    Технические характеристики:

    • материал: нержавеющая сталь;
    • напряжение: 380 В;
    • мощность: 1 400 Вт;
    • исполнение: напольное;
    • регулирующиеся ножки;
    • полный унгер;
    • габариты: 410х560х690 мм;
    • вес: 47 кг;
    • производительность: 150 кг/ч.

    Цена: 42 800 рублей.

    Отзыв: Алена (ник Kucharenka):

    • «Готовить – для меня призвание. Кухня - это моя стихия, поэтому радуюсь тому, что хозяин попался вменяемый, от первого ушла, потому что не понимал, что для такой работы надо простор фантазии при строгой технологичности, а этот понимает и потому почти не вмешивается, главное, чтобы всё было в порядке. Я в прошлом году поставила условие: покупаем промышленную электромясорубку. До этого пользовалась обычной бытовой мясорубкой и кухонной машиной. А тут и производство увеличилось, и посмотрела у однокурсницы — промышленная дает фарш лучшего качества. Мясорубку «Мэп-150» заказали в интернет-магазине. Я весь вечер по всем интернетным лавкам лазала. Но машина нравится. Главное, не сложнее, чем бытовая. Я не очень-то разбираюсь в технике, поэтому мне важно, чтоб машинка была без наворотов».

    Мясорубка-волчок JR-120

    Харбинская коммерческая машиностроительная компания «Золотое счастье», Китай.

    Технические характеристики:

    • обрабатывает замороженное до -7 градусов мясо;
    • мощность: 11 кВт;
    • напряжение: 380 В;
    • производительность: 2 т/ч;
    • диаметр матрицы: 120 мм;
    • вращение шнека: 190 об/м;
    • вес: 300 кг;
    • габариты: 1050х750х1300 мм.

    Цена:369 000 рублей.

    Отзыв: Иванов Сергей, владелец колбасного цеха:

    • «В таком производстве волчок нужен в первую очередь. У меня в цехе стоит JR-120, китайский. Пока менять не собираюсь. С большими объемами справляется».

    Промышленные мясорубки сегодня выпускаются многими компаниями, специализирующимися на выпуске электромеханического оборудования для общепита.

    Мясорубки отличаются формой и количеством ножей, мощностью, производительностью, дополнительным оборудованием, дизайном, условиями размещения.

    Владельцу остается лишь сделать правильный выбор: подобрать мясорубку, максимально соответствующую по параметрам его предприятию общепита.

    Устройство рабочих органов мясорубки

    Схема устройства мясорубки и назначение ее основных рабочих органов

    Независимо от марки мясорубки и её технических характеристик, все они имеют принципиально одинаковые устройства. Корпус – пустотелый литой цилиндр с ребрами.

    Внутри рабочей камеры установлен вал, состоящий из 3х частей: 1) приводная (хвостовик рабочего вала); 2) шнек для продвижения продукта вдоль рабочей камеры, а так же для уплотнения продукта; 3) палец шнека – для крепления режущих рабочих органов.

    Рабочие органы: основной набор: подрезная решетка ;крестовидный нож; решетка с крупными отверстиями; второй нож; решетка с мелкими отверстиями; уплотнительное кольцо. Набор для крупной резки: подрезная решетка; крестовидный нож; уплотнительное кольцо.

    Правила эксплуатации мясорубок. Перед включением машины в работу проверяют ее санитарно-техническое состояние. Для мелкой рубки мясорубку собирают следующим образом. В корпус мясорубки вставляют шнек, следя за тем, чтобы хвостовик вошел в паз приводного вала.

    На палец шнека надевают подрезную решетку, двухсторонний нож, решетку с крупными отверстиями, второй двухсторонний нож, решетку с мелкими отверстиями, прижимное кольцо, а снаружи завинчивают прижимную гайку до первого упора.

    На непродолжительное время машину включают вхолостую, рабочие инструменты расслабляют и затем медленно вновь завинчивают гайку до усиления шума в редукторе, что свидетельствует о плотности соединения инструментов и готовности мясорубки к работе. Мясо предварительно необходимо очистить от костей, пленок и сухожилий и нарезать на кусочки по 100—150 г.

    Мясо накладывают на загрузочную чашу и проталкивают толкателем.

    Запрещается работать на мясорубке без предохранительного кольца, проталкивать мясо руками или посторонними предметами, поскольку это приводит к несчастным случаям, а также длительное время эксплуатировать машину вхолостую и измельчать на мясорубке твердые хрупкие продукты, так как это приводит к затуплению ножей и быстрому износу рабочих инструментов.

    Кроме того, нельзя оставлять мясорубку во время работы без присмотра. По окончании работы мясорубку отключают от электросети, снимают с привода корпус, разбирают, удаляют остатки продуктов и тщательно промывают горячей водой, высушивают и смазывают пищевым несоленым жиром. Наружную поверхность протирают влажной, а затем сухой тканью. Необходимо следить за состоянием режущих пар и своевременно их затачивать в механических мастерских. После заточки рабочие инструменты проверяются на плотность прилегания и на просвет в местах соприкосновения ножа и решетки.

    Модели: Машина для измельчения мяса МИМ-82 Машины для измельчения мяса МИМ-300, МИМ-600 Механизмы для измельчения мяса МС 2-70 и ММ (мясорубки) являются сменными механизмами универсальных приводов соответственно типа ПУ-0,6 и УКМ.

    Из зарубежных механизмов данного вида внимания заслуживают мясорубки фирмы АО “КОНЕТЕОЛЛИСУУС” (Финляндия) тем, что в их комплект входит большое количество сменных ножей и ножевых решеток, а также подрезной нож (решетка) с двухсторонним лезвием.

    Понравилась статья? Поделиться с друзьями:
    Все о сантехнике
    1 / 10
    2 / 10
    3 / 10
    4 / 10
    5 / 10
    6 / 10
    7 / 10
    8 / 10
    9 / 10
    10 / 10